首页
专利数据库
产业人才
行业动态
产业政策法规
维权援助
个人中心
登录/注册
详情
文本
图像
标题:
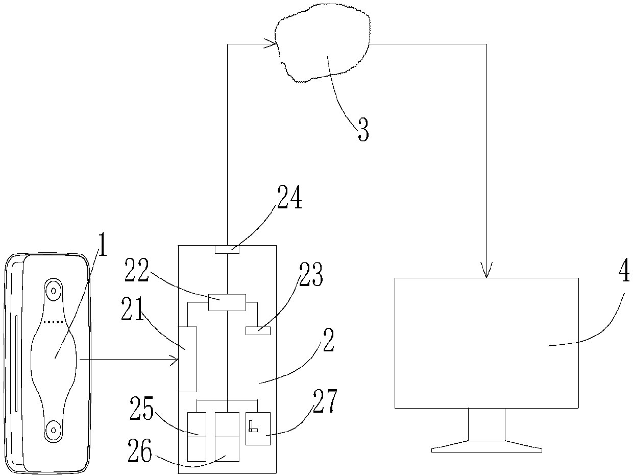
基于心电、呼吸、体位信号的睡眠质量评估系统
授权日:
2019-04-23
公开(公告)号:
CN208769759U
申请日:
2017-08-15
公开(公告)日:
2019-04-23
当前申请(专利权)人:
北京道贞健康科技发展有限责任公司
发明人:
肖钢
简单同族:
CN208769759U
简单同族成员数量:
1
简单同族被引用专利总数:
0
诉讼案件数:
0
法律状态/事件:
授权