首页
专利数据库
产业人才
行业动态
产业政策法规
维权援助
个人中心
登录/注册
详情
文本
图像
标题:
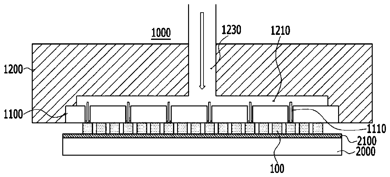
用以转印微发光二极管的热风头及微发光二极管转印系统
授权日:
1900-01-01
公开(公告)号:
CN110797281A
申请日:
2019-07-30
公开(公告)日:
2020-02-14
当前申请(专利权)人:
普因特工程有限公司
发明人:
安范模 | 朴胜浩 | 边圣铉
简单同族:
CN110797281A | KR1020200015076A | US20200043771A1
简单同族成员数量:
3
简单同族被引用专利总数:
0
诉讼案件数:
0
法律状态/事件:
公开