标题:
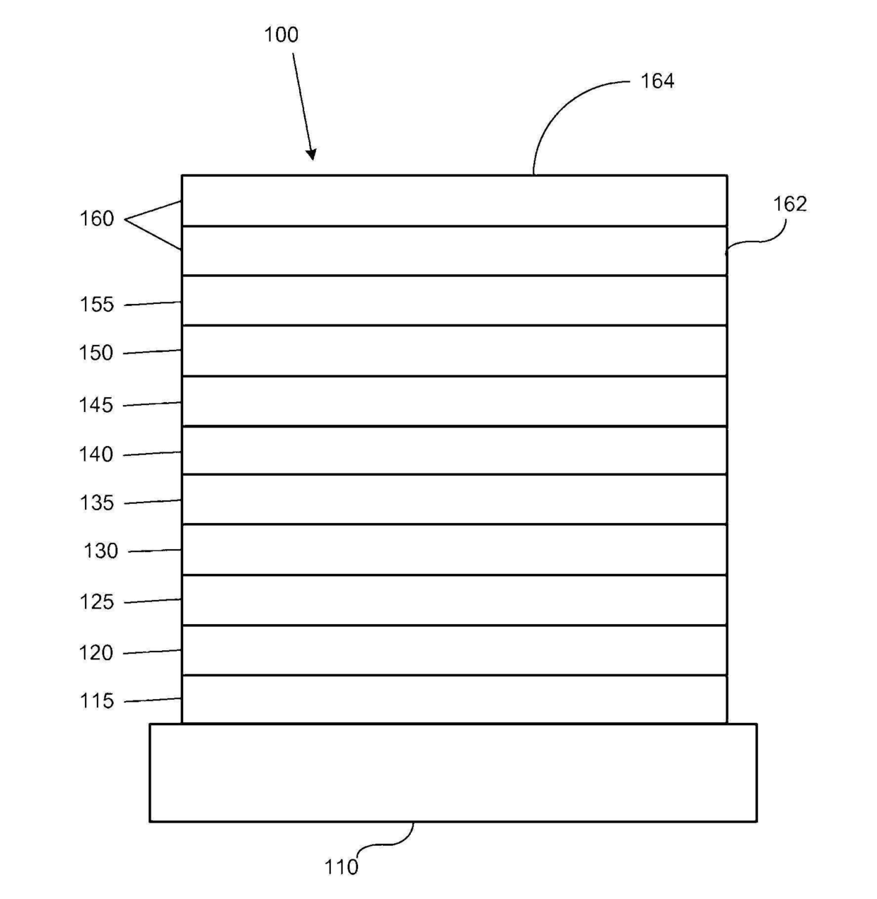
융합 링을 형성하기 위해 결합하는 치환기를 가지는 트리페닐렌-벤조푸란/벤조티오펜/벤조셀레노펜 화합물
授权日:
1900-01-01
公开(公告)号:
KR1020180033602A
申请日:
2011-04-27
公开(公告)日:
2018-04-03
当前申请(专利权)人:
유니버셜 디스플레이 코포레이션
发明人:
마빈 | 표르델리소제임스 | 유용강 | 광레이먼드
简单同族:
CN102858913A | CN102858913B | CN105330641A | CN105330641B | CN105968088A | CN105968088B | DE112011101498T5 | JP2013525446A | JP2016185951A | JP2018135390A | JP6387366B2 | JP6680830B2 | KR1020130067274A | KR1020180033602A | KR102084336B1 | TW201209133A | TWI573853B | US20110266526A1 | US8968887 | WO2011137157A1
简单同族成员数量:
20
简单同族被引用专利总数:
106
诉讼案件数:
0
法律状态/事件:
授权 | 复审