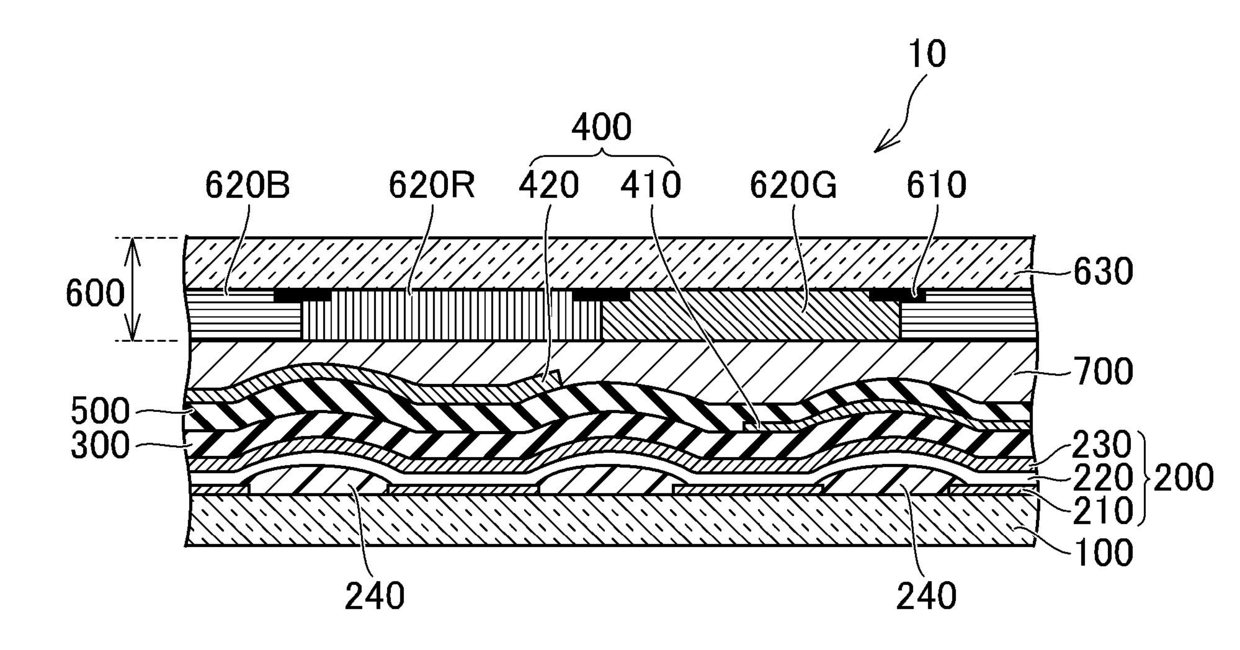
标题:
표시 장치
授权日:
1900-01-01
公开(公告)号:
KR1020160097170A
申请日:
2016-08-01
公开(公告)日:
2016-08-17
当前申请(专利权)人:
가부시키가이샤 재팬 디스프레이
发明人:
사또도시히로 | 이또료이찌
简单同族:
CN104517991A | CN104517991B | CN108549506A | JP2015050245A | JP2015050245A5 | JP6253923B2 | KR101695599B1 | KR101716934B1 | KR1020150026921A | KR1020160097170A | TW201508404A | TWI553387B | US10170727 | US20150060817A1 | US20170222180A1 | US20190109296A1 | US9660003
简单同族成员数量:
17
简单同族被引用专利总数:
105
诉讼案件数:
0
法律状态/事件:
授权