首页
专利数据库
产业人才
行业动态
产业政策法规
维权援助
个人中心
登录/注册
详情
文本
图像
标题:
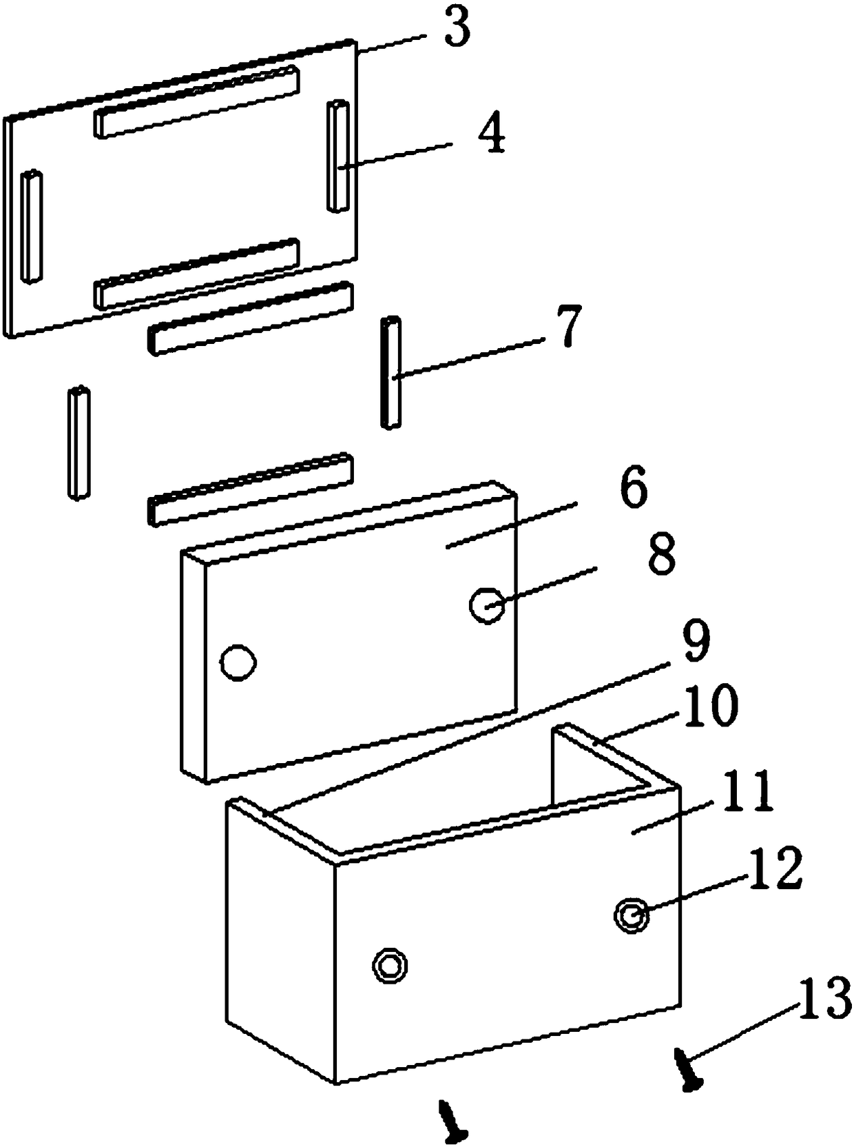
一种像素边缘显示的液晶拼接屏
授权日:
2017-08-11
公开(公告)号:
CN206400974U
申请日:
2016-12-31
公开(公告)日:
2017-08-11
当前申请(专利权)人:
广东创捷智能科技有限公司
发明人:
胡善保
简单同族:
CN206400974U
简单同族成员数量:
1
简单同族被引用专利总数:
0
诉讼案件数:
0
法律状态/事件:
授权