首页
专利数据库
产业人才
行业动态
产业政策法规
维权援助
个人中心
登录/注册
详情
文本
图像
标题:
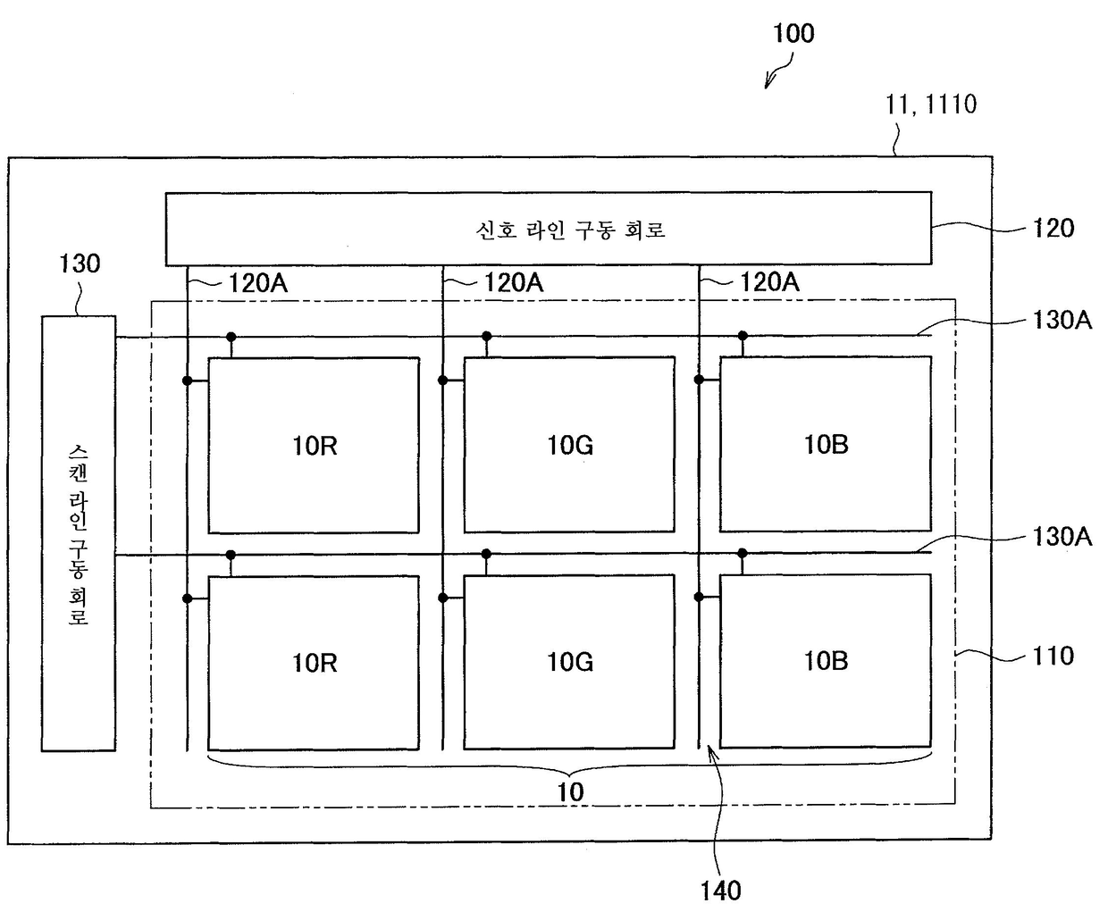
디스플레이 및 그 제조 방법, 유닛, 전사 인쇄 방법, 유기 전계발광 유닛 및 그 제조 방법, 그리고 전자 장치
授权日:
2018-08-31
公开(公告)号:
KR101896125B1
申请日:
2013-01-11
公开(公告)日:
2018-09-07
当前申请(专利权)人:
가부시키가이샤 제이올레드
发明人:
안도마코토 | 다카기가즈나리
简单同族:
CN103219356A | CN103219356B | KR101896125B1 | KR1020130085377A | TW201332101A | TWI508279B | US20130187132A1 | US9711723
简单同族成员数量:
8
简单同族被引用专利总数:
72
诉讼案件数:
0
法律状态/事件:
授权