首页
专利数据库
产业人才
行业动态
产业政策法规
维权援助
个人中心
登录/注册
详情
文本
图像
标题:
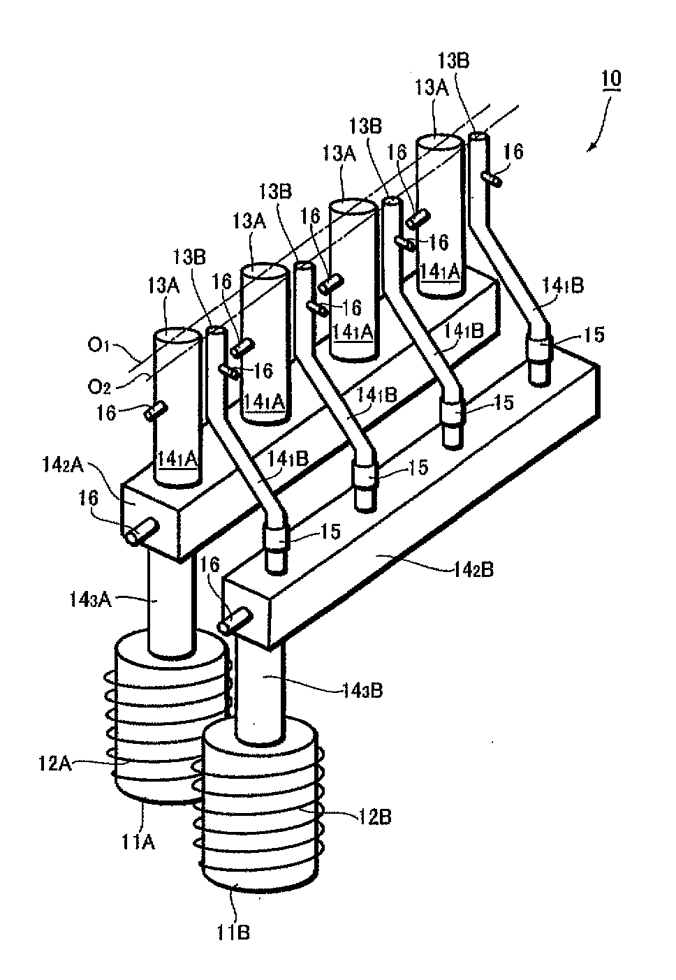
성막원, 진공 성막 장치, 유기 EL 패널의 제조 방법
授权日:
1900-01-01
公开(公告)号:
KR1020060053216A
申请日:
2005-08-22
公开(公告)日:
2006-05-19
当前申请(专利权)人:
도호꾸 파이오니어 가부시끼가이샤
发明人:
아비코히로시 | 마스다다이스케 | 우메츠시게히로
简单同族:
CN1741692A | EP1632586A2 | EP1632586A3 | JP2006057173A | KR1020060053216A | TW200608825A | US20060045958A1
简单同族成员数量:
7
简单同族被引用专利总数:
104
诉讼案件数:
0
法律状态/事件:
撤回