标题:
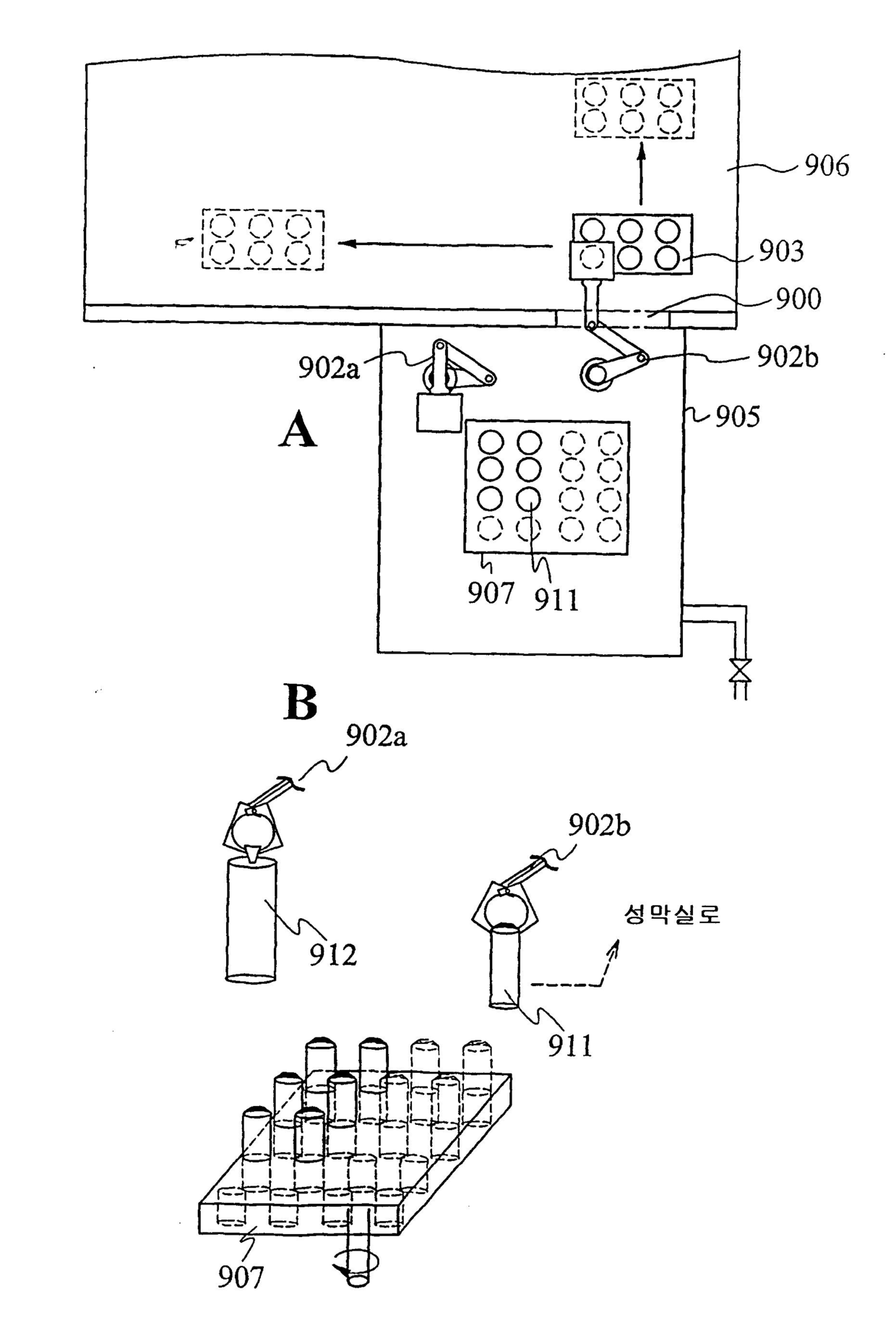
발명의 명칭 유기 화합물 함유층 형성 방법
授权日:
1900-01-01
公开(公告)号:
KR1020120080654A
申请日:
2003-08-29
公开(公告)日:
2012-07-17
当前申请(专利权)人:
가부시키가이샤 한도오따이 에네루기 켄큐쇼
发明人:
야마자키순페이 | 무라카미마사카즈 | 쿠와바라히데아키
简单同族:
AU2003257609A1 | CN1679375A | CN1679375B | EP1547448A1 | EP1547448A4 | EP1547448B1 | KR101004060B1 | KR101397574B1 | KR101419865B1 | KR101481749B1 | KR1020050058502A | KR1020100093594A | KR1020110089200A | KR1020120080654A | KR1020130086078A | TW200418340A | TWI277363B | US20040139914A1 | US7378133 | WO2004030416A1
简单同族成员数量:
20
简单同族被引用专利总数:
135
诉讼案件数:
0
法律状态/事件:
授权