首页
专利数据库
产业人才
行业动态
产业政策法规
维权援助
个人中心
登录/注册
详情
文本
图像
标题:
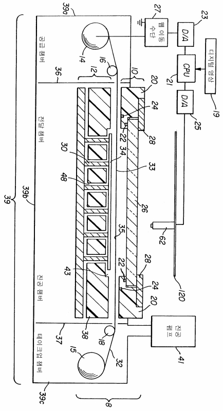
도너 웹으로부터 유기 물질의 전달을 가능하게 하여OLED 디바이스내에 층을 형성하는 장치
授权日:
1900-01-01
公开(公告)号:
KR1020040017787A
申请日:
2003-08-20
公开(公告)日:
2004-02-27
当前申请(专利权)人:
이스트맨 코닥 캄파니
发明人:
필립스브래들리알렌 | 케이데이비드비
简单同族:
CN1485218A | EP1391946A2 | EP1391946A3 | JP2004079540A | KR1020040017787A | TW200403952A | US6695030
简单同族成员数量:
7
简单同族被引用专利总数:
86
诉讼案件数:
0
法律状态/事件:
撤回