标题:
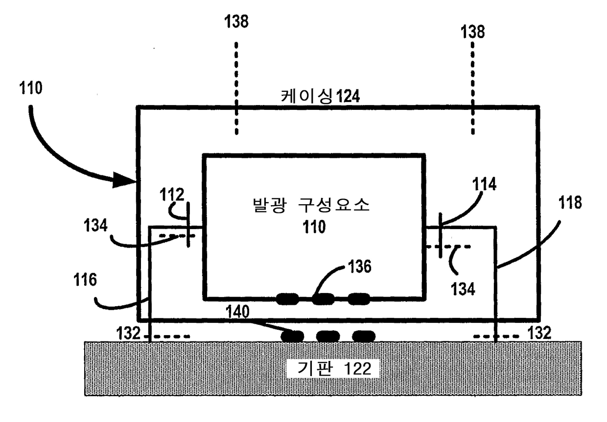
전압 절환형 절연 물질을 사용한 발광 디바이스
授权日:
1900-01-01
公开(公告)号:
KR1020080085146A
申请日:
2006-11-22
公开(公告)日:
2008-09-23
当前申请(专利权)人:
쇼킹 테크놀로지스 인코포레이티드
发明人:
KOSOWSKY, LEX
简单同族:
EP1958271A2 | EP1958271A4 | EP2490508A2 | EP2490508A3 | JP2009516931A | JP2012238860A | KR1020080085146A | MY147844A | SG142727A1 | US20070126018A1 | US20100270545A1 | US20100270546A1 | US7825491 | WO2007062171A2 | WO2007062171A3 | WO2007062171A9
简单同族成员数量:
16
简单同族被引用专利总数:
63
诉讼案件数:
0
法律状态/事件:
驳回