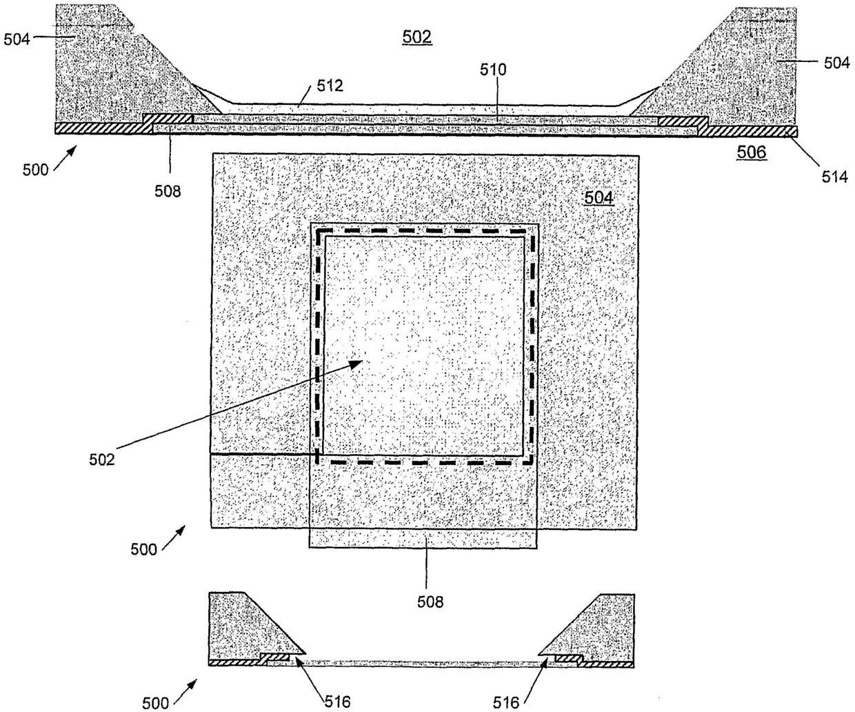
标题:
유기 전자 디바이스 구조체, OLED 디스플레이디바이스, 유기 전자 디바이스 제조 방법, 액적 증착 웰
授权日:
1900-01-01
公开(公告)号:
KR1020080040772A
申请日:
2006-08-22
公开(公告)日:
2008-05-08
当前申请(专利权)人:
캠브리지 디스플레이 테크놀로지 리미티드
发明人:
그레고리하이든 | 카터줄리안
简单同族:
CN101243553A | CN101243553B | GB0517195D0 | GB0605128D0 | GB0803371D0 | GB201322071D0 | GB2500361A | GB2500361B | GB2507203A | JP2009506490A | JP2009506490A5 | JP2012043813A | JP5183475B2 | JP5575094B2 | KR101335852B1 | KR101431408B1 | KR1020080040772A | KR1020130079634A | US20090115318A1 | US20130277649A1 | US8436528 | US8836214
简单同族成员数量:
22
简单同族被引用专利总数:
111
诉讼案件数:
0
法律状态/事件:
授权