首页
专利数据库
产业人才
行业动态
产业政策法规
维权援助
个人中心
登录/注册
详情
文本
图像
标题:
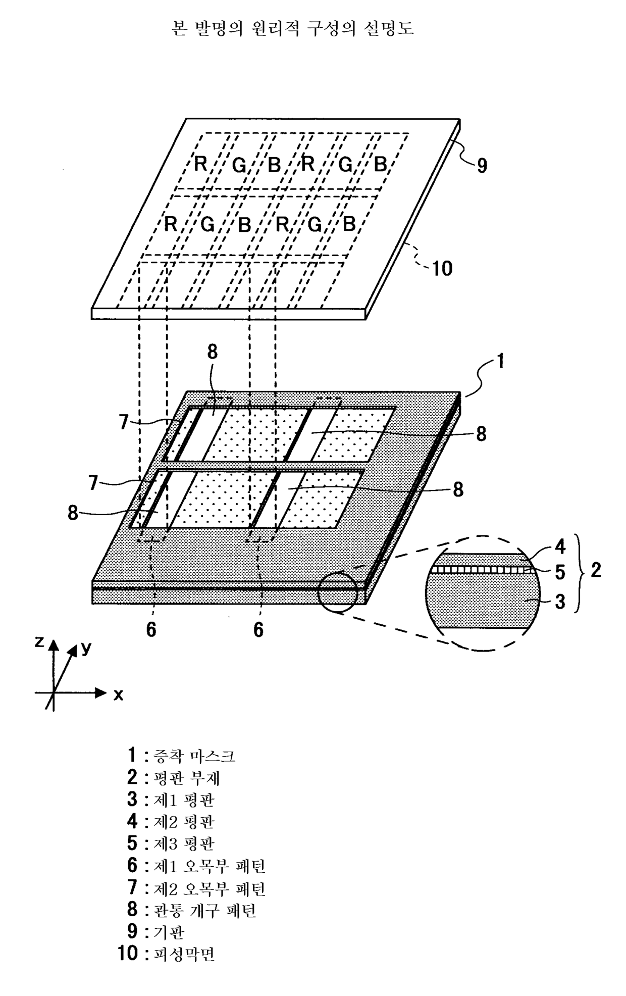
증착 마스크 및 유기 EL 표시 디바이스의 제조 방법
授权日:
2007-03-21
公开(公告)号:
KR100700466B1
申请日:
2004-11-29
公开(公告)日:
2007-03-28
当前申请(专利权)人:
후지필름 가부시키가이샤
发明人:
SAKAMOTO,YOSHIAKI
简单同族:
CN100530757C | CN1652650A | JP2005216814A | JP4441282B2 | KR100700466B1 | KR1020050078637A | TW200527954A | TWI255666B | US20050166842A1
简单同族成员数量:
9
简单同族被引用专利总数:
116
诉讼案件数:
0
法律状态/事件:
授权 | 权利转移