首页
专利数据库
产业人才
行业动态
产业政策法规
维权援助
个人中心
登录/注册
详情
文本
图像
标题:
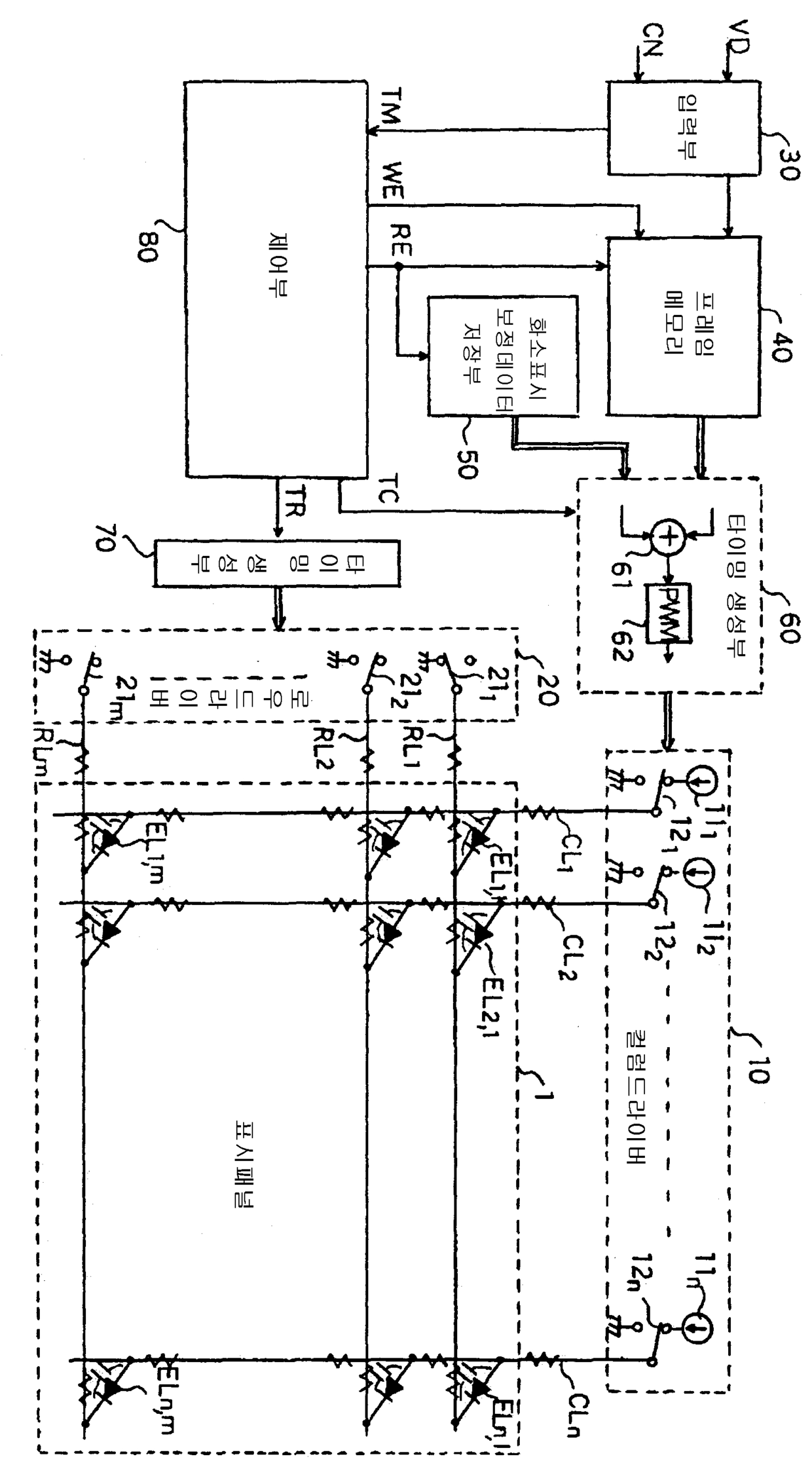
표시 패널 구동회로와 구동방법
授权日:
1900-01-01
公开(公告)号:
KR1020060046784A
申请日:
2005-07-26
公开(公告)日:
2006-05-17
当前申请(专利权)人:
오끼 덴끼 고오교 가부시끼가이샤
发明人:
키무라나오야 | 하라테쓰로 | 콘도아키라 | 시미즈타카유키 | 타카야나기하루요 | 후쿠자코신이치 | 타카야마이치로우
简单同族:
CN100511349C | CN1760945A | JP2006047510A | KR1020060046784A | US20060022914A1
简单同族成员数量:
5
简单同族被引用专利总数:
126
诉讼案件数:
0
法律状态/事件:
放弃