首页
专利数据库
产业人才
行业动态
产业政策法规
维权援助
个人中心
登录/注册
详情
文本
图像
标题:
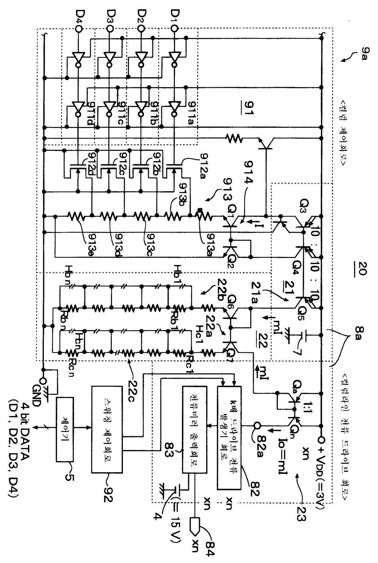
유기 EL 구동회로 및 이를 이용한 유기 EL 표시장치
授权日:
2005-08-02
公开(公告)号:
KR100507549B1
申请日:
2002-03-25
公开(公告)日:
2005-08-26
当前申请(专利权)人:
로무 가부시키가이샤
发明人:
기타하라신지 | 하나다고이치 | 마에데준 | 후지사와마사노리
简单同族:
KR100507549B1 | KR1020020076146A | TW522754B | US20020135314A1 | US6586888
简单同族成员数量:
5
简单同族被引用专利总数:
87
诉讼案件数:
0
法律状态/事件:
授权