首页
专利数据库
产业人才
行业动态
产业政策法规
维权援助
个人中心
登录/注册
详情
文本
图像
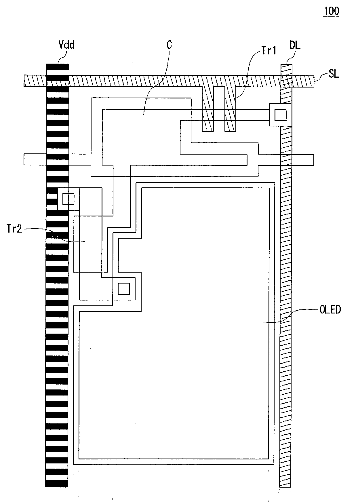
标题:
표시 장치
授权日:
1900-01-01
公开(公告)号:
KR1020030074184A
申请日:
2003-03-04
公开(公告)日:
2003-09-19
当前申请(专利权)人:
산요덴키가부시키가이샤
发明人:
노구찌유끼히로 | 마쯔모또쇼이찌로
简单同族:
CN1246824C | CN1448913A | JP2003330387A | KR100689933B1 | KR100914564B1 | KR1020030074184A | KR1020060125634A | US20030168992A1 | US6762564
简单同族成员数量:
9
简单同族被引用专利总数:
119
诉讼案件数:
0
法律状态/事件:
授权