首页
专利数据库
产业人才
行业动态
产业政策法规
维权援助
个人中心
登录/注册
详情
文本
图像
标题:
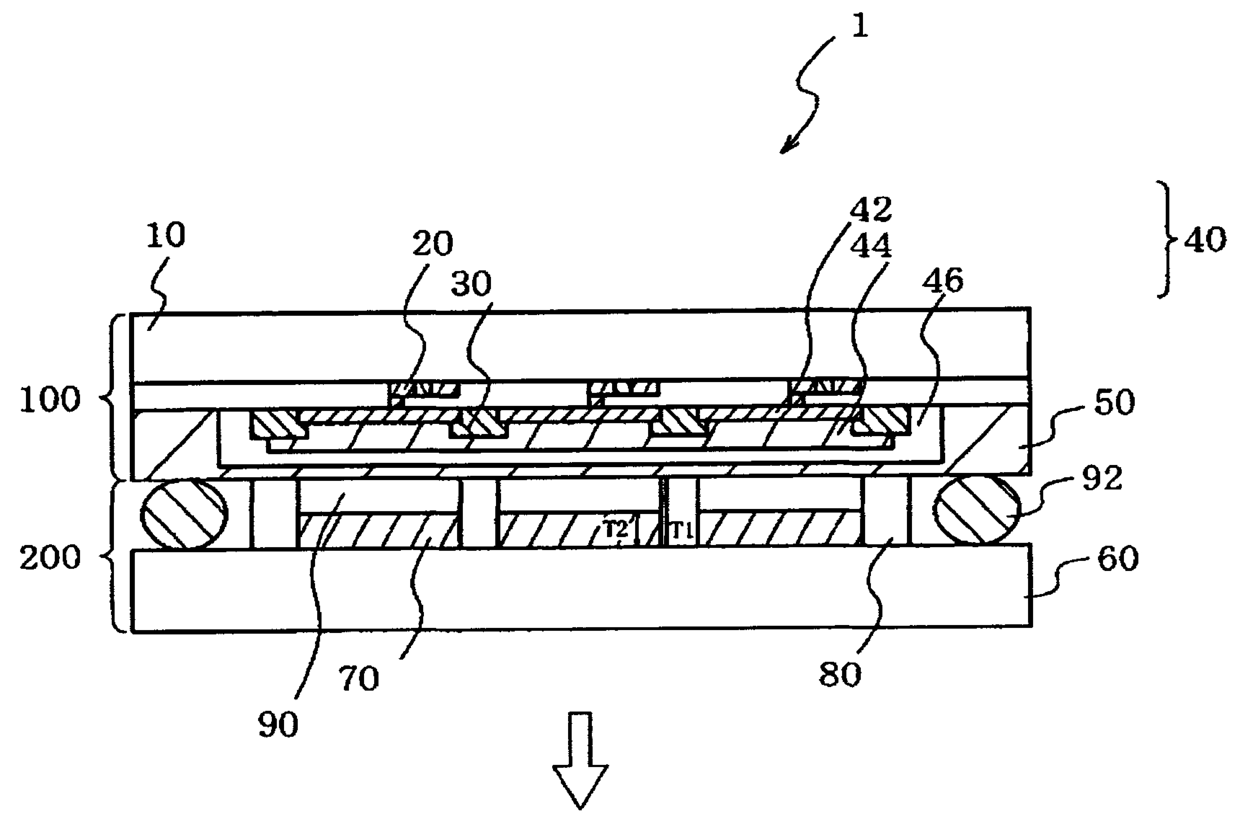
유기 EL 표시 장치
授权日:
1900-01-01
公开(公告)号:
KR1020070049172A
申请日:
2005-08-02
公开(公告)日:
2007-05-10
当前申请(专利权)人:
이데미쓰 고산 가부시키가이샤
发明人:
에이다,미츠루 | 후쿠다,마사히코
简单同族:
CN1969595A | EP1784054A1 | EP1784054A4 | JPWO2006022123A1 | KR1020070049172A | TW200621085A | US20080036367A1 | WO2006022123A1
简单同族成员数量:
8
简单同族被引用专利总数:
120
诉讼案件数:
0
法律状态/事件:
撤回