首页
专利数据库
产业人才
行业动态
产业政策法规
维权援助
个人中心
登录/注册
详情
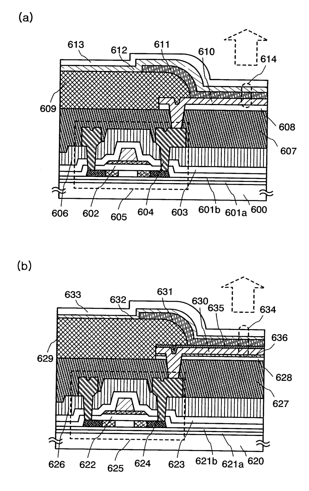
文本
图像
标题:
표시장치 및 그것의 제조방법
授权日:
1900-01-01
公开(公告)号:
KR1020060052371A
申请日:
2005-11-01
公开(公告)日:
2006-05-19
当前申请(专利权)人:
가부시키가이샤 한도오따이 에네루기 켄큐쇼
发明人:
아키모토켄코 | 마루야마호타카 | 소네노리히토 | 이케다히사오 | 사카타주니치로 | 세오사토시
简单同族:
CN1808722A | CN1808722B | KR101217111B1 | KR1020060052371A | TW200628941A | TWI395028B | US20060091397A1
简单同族成员数量:
7
简单同族被引用专利总数:
79
诉讼案件数:
0
法律状态/事件:
授权