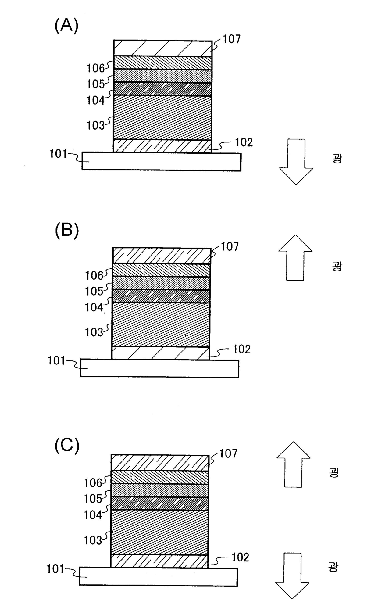
标题:
발명의 명칭 복합재료 및 그 복합재료를 사용한 발광소자 및 발광장치
授权日:
2013-10-28
公开(公告)号:
KR101324755B1
申请日:
2006-03-23
公开(公告)日:
2013-11-05
当前申请(专利权)人:
가부시키가이샤 한도오따이 에네루기 켄큐쇼
发明人:
이와키유지 | 세오사토시 | 쿠마키다이스케 | 나카시마하루에 | 코지마쿠미
简单同族:
CN102244205A | CN102244205B | CN102290535A | CN1837324A | CN1837324B | JP2012186501A | JP2014116624A | JP5690773B2 | JP5890441B2 | KR101254273B1 | KR101254274B1 | KR101324755B1 | KR1020060103187A | KR1020110056458A | KR1020110058749A | TW200704638A | TWI436981B | US20090309093A1 | US20100084645A1 | US7649197 | US8405070
简单同族成员数量:
21
简单同族被引用专利总数:
78
诉讼案件数:
0
法律状态/事件:
授权