首页
专利数据库
产业人才
行业动态
产业政策法规
维权援助
个人中心
登录/注册
详情
文本
图像
标题:
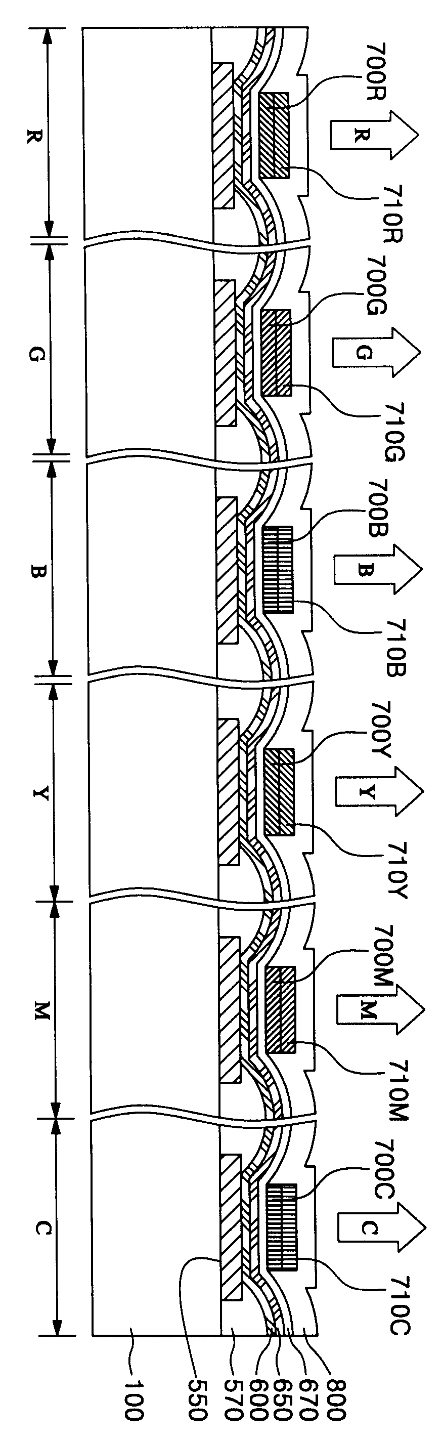
레드, 그린, 블루, 시안, 마젠타 및 옐로우칼라조절층들을 갖는 풀칼라 유기전계발광표시장치
授权日:
2007-02-14
公开(公告)号:
KR100685407B1
申请日:
2004-10-18
公开(公告)日:
2007-02-22
当前申请(专利权)人:
삼성에스디아이 주식회사
发明人:
진병두 | 서민철 | 김무현 | 김혜동
简单同族:
KR100685407B1 | KR1020060034162A | US20060082295A1 | US7375464
简单同族成员数量:
4
简单同族被引用专利总数:
76
诉讼案件数:
0
法律状态/事件:
授权 | 权利转移