首页
专利数据库
产业人才
行业动态
产业政策法规
维权援助
个人中心
登录/注册
详情
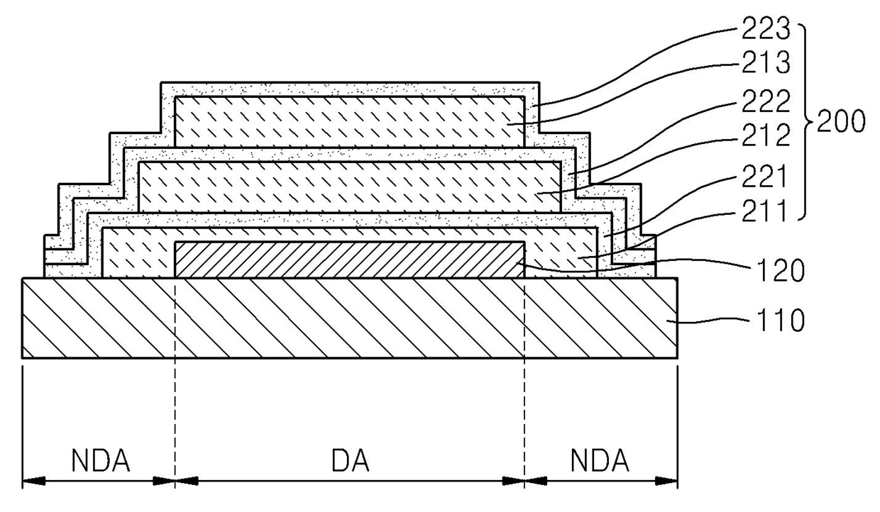
文本
图像
标题:
발명의 명칭 유기발광 표시장치 및 그 제조 방법
授权日:
1900-01-01
公开(公告)号:
KR1020120065049A
申请日:
2010-12-10
公开(公告)日:
2012-06-20
当前申请(专利权)人:
삼성디스플레이 주식회사
发明人:
류지훈 | 한동원 | 최영서 | 이재호 | 권오준 | 곽진호 | 신대범 | 강동훈 | 김효준 | 송승용
简单同族:
KR1020120065049A | US20120146492A1 | US8569951
简单同族成员数量:
3
简单同族被引用专利总数:
104
诉讼案件数:
0
法律状态/事件:
驳回