首页
专利数据库
产业人才
行业动态
产业政策法规
维权援助
个人中心
登录/注册
详情
文本
图像
标题:
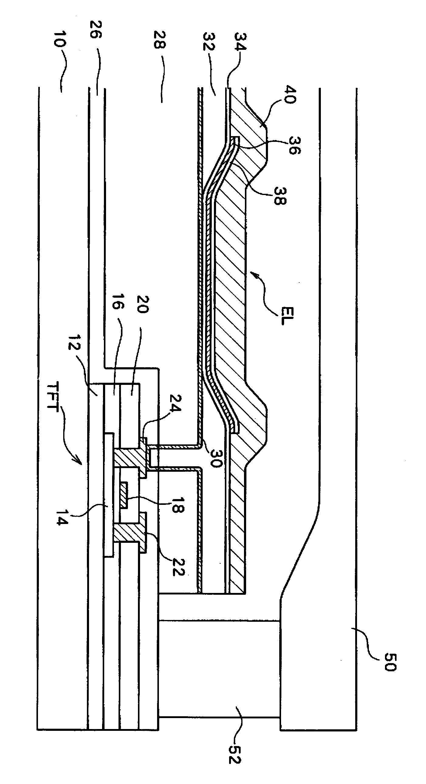
유기 EL 표시 장치
授权日:
1900-01-01
公开(公告)号:
KR1020040010367A
申请日:
2003-07-24
公开(公告)日:
2004-01-31
当前申请(专利权)人:
산요덴키가부시키가이샤
发明人:
요네다기요시 | 니시까와류지 | 스즈끼고지 | 이찌까와신지
简单同族:
CN1481203A | KR100535855B1 | KR1020040010367A | TW200402157A | TWI224880B | US20040066136A1 | US6850005
简单同族成员数量:
7
简单同族被引用专利总数:
62
诉讼案件数:
0
法律状态/事件:
授权