首页
专利数据库
产业人才
行业动态
产业政策法规
维权援助
个人中心
登录/注册
详情
文本
图像
标题:
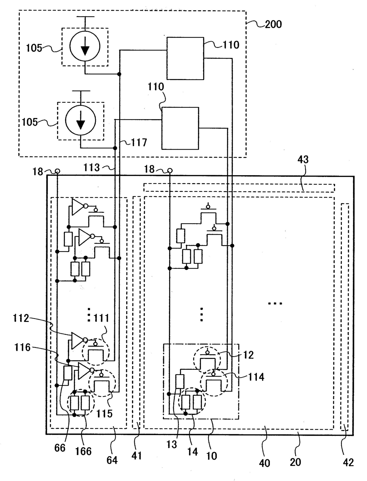
표시장치 및 그것의 구동방법
授权日:
1900-01-01
公开(公告)号:
KR1020070004424A
申请日:
2006-06-28
公开(公告)日:
2007-01-09
当前申请(专利权)人:
가부시키가이샤 한도오따이 에네루기 켄큐쇼
发明人:
요시다야스노리 | 키무라하지메 | 야마자키순페이
简单同族:
CN1892767A | CN1892767B | KR101267286B1 | KR1020070004424A | US20070001945A1 | US8692740
简单同族成员数量:
6
简单同族被引用专利总数:
98
诉讼案件数:
0
法律状态/事件:
授权