首页
专利数据库
产业人才
行业动态
产业政策法规
维权援助
个人中心
登录/注册
详情
文本
图像
标题:
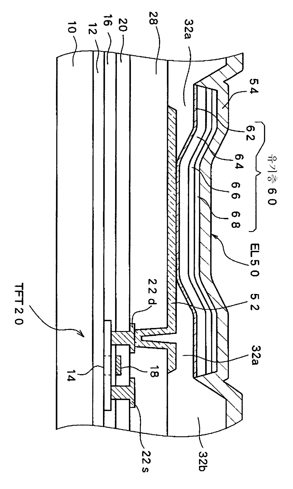
유기 전계 발광 패널
授权日:
2006-02-09
公开(公告)号:
KR100552872B1
申请日:
2003-11-13
公开(公告)日:
2006-02-20
当前申请(专利权)人:
산요덴키가부시키가이샤
发明人:
NISHIKAWA,RYUJI
简单同族:
CN1512825A | JP2004165067A | KR100552872B1 | KR1020040042855A | TW200420187A | TWI232068B | US20040135501A1
简单同族成员数量:
7
简单同族被引用专利总数:
84
诉讼案件数:
0
法律状态/事件:
授权