首页
专利数据库
产业人才
行业动态
产业政策法规
维权援助
个人中心
登录/注册
详情
文本
图像
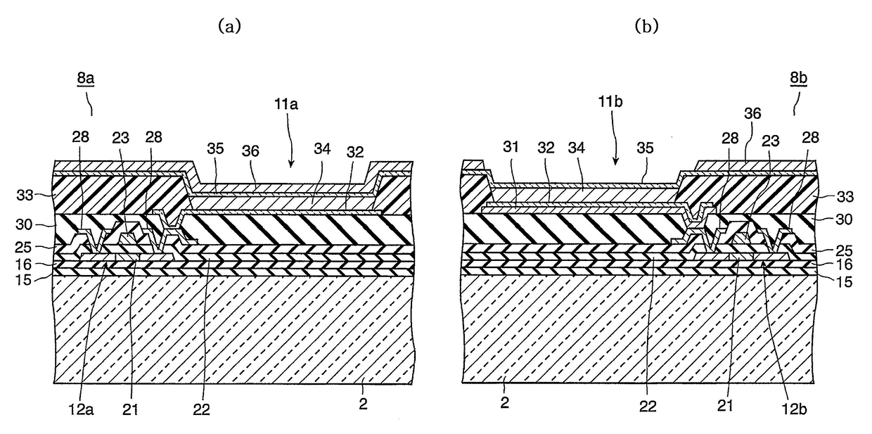
标题:
디스플레이 장치
授权日:
2008-08-19
公开(公告)号:
KR100854160B1
申请日:
2003-08-27
公开(公告)日:
2008-08-26
当前申请(专利权)人:
가부시끼가이샤 도시바
发明人:
KOBAYASHI, MICHIYA
简单同族:
EP1547449A1 | EP1547449A4 | JP2004086014A | JP4234376B2 | KR100854160B1 | KR1020050050650A | TW200405064A | TWI230283B | US20060139268A1 | US7608992 | WO2004026001A1
简单同族成员数量:
11
简单同族被引用专利总数:
86
诉讼案件数:
0
法律状态/事件:
未缴年费 | 复审 | 权利转移 | 异议