首页
专利数据库
产业人才
行业动态
产业政策法规
维权援助
个人中心
登录/注册
详情
文本
图像
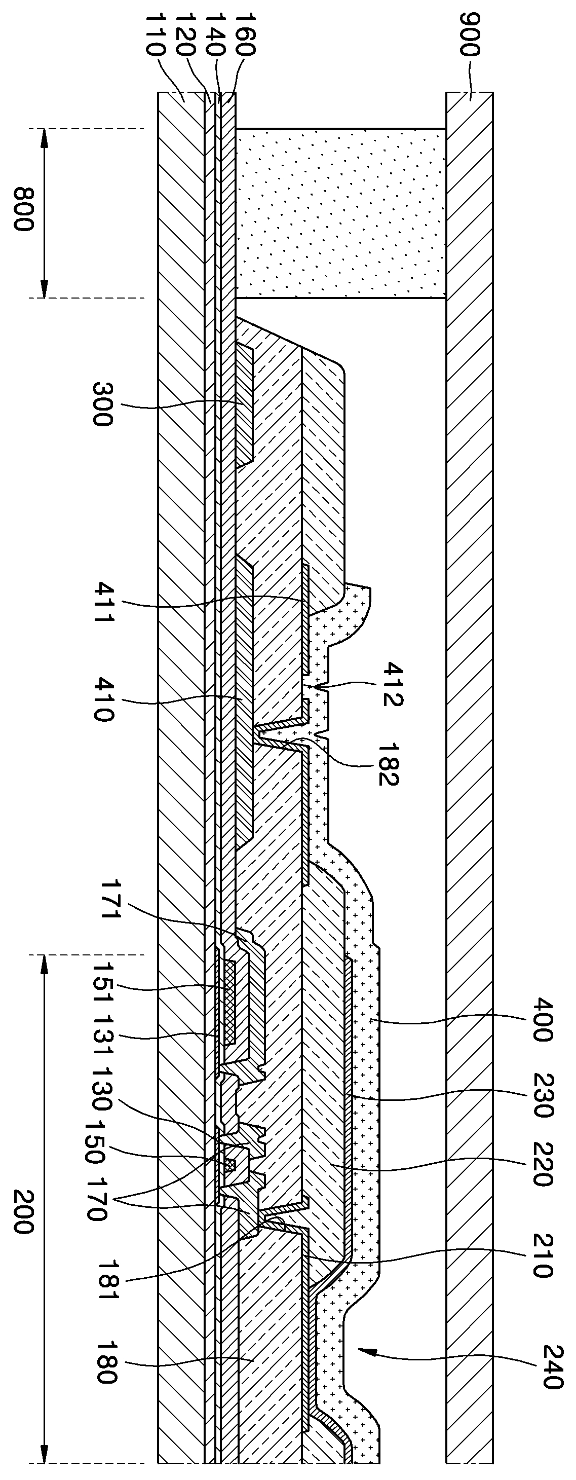
标题:
전계 발광 디스플레이 장치 및 이의 제조 방법
授权日:
2006-04-17
公开(公告)号:
KR100573149B1
申请日:
2004-05-29
公开(公告)日:
2006-04-24
当前申请(专利权)人:
삼성에스디아이 주식회사
发明人:
곽원규 | 이관희 | 송승용
简单同族:
CN1735290A | CN1735290B | JP2005338789A | JP4049330B2 | KR100573149B1 | KR1020050113517A | US20060060850A1 | US7279708
简单同族成员数量:
8
简单同族被引用专利总数:
90
诉讼案件数:
0
法律状态/事件:
授权 | 权利转移