首页
专利数据库
产业人才
行业动态
产业政策法规
维权援助
个人中心
登录/注册
详情
文本
图像
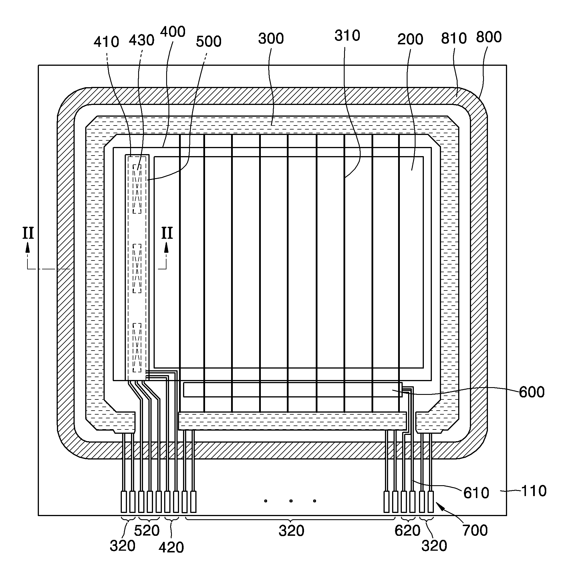
标题:
전계 발광 디스플레이 장치
授权日:
1900-01-01
公开(公告)号:
KR1020050090586A
申请日:
2004-03-09
公开(公告)日:
2005-09-14
当前申请(专利权)人:
삼성에스디아이 주식회사
发明人:
곽원규 | 이관희
简单同族:
CN1668152A | CN1668152B | EP1575090A2 | EP1575090A3 | EP1575090B1 | JP2005258395A | JP3940738B2 | KR100581903B1 | KR1020050090586A | US20050200270A1 | US20110298391A1 | US8026667 | US8247968
简单同族成员数量:
13
简单同族被引用专利总数:
97
诉讼案件数:
0
法律状态/事件:
授权 | 权利转移