标题:
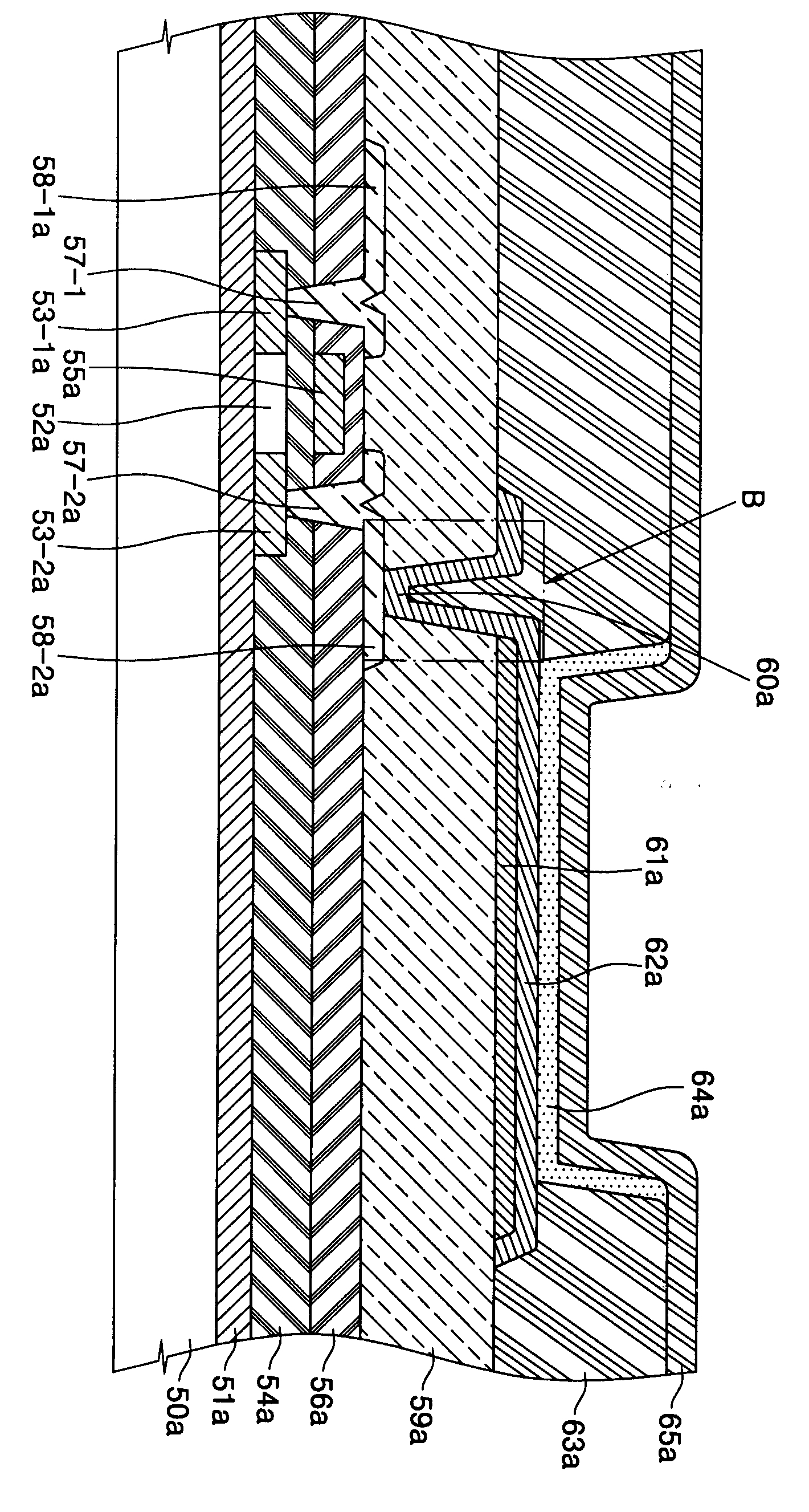
전면 발광 구조를 갖는 유기 전계 발광 표시 장치 및 이의제조방법
授权日:
1900-01-01
公开(公告)号:
KR1020050091261A
申请日:
2004-03-11
公开(公告)日:
2005-09-15
当前申请(专利权)人:
삼성에스디아이 주식회사
发明人:
서창수 | 박문희 | 강태욱 | 류승윤 | 이관희
简单同族:
CN100595943C | CN101667589A | CN101667589B | CN1668148A | JP2005259695A | JP4414358B2 | KR100579192B1 | KR1020050091261A | US20050230684A1 | US7741640
简单同族成员数量:
10
简单同族被引用专利总数:
85
诉讼案件数:
0
法律状态/事件:
授权 | 权利转移