首页
专利数据库
产业人才
行业动态
产业政策法规
维权援助
个人中心
登录/注册
详情
文本
图像
标题:
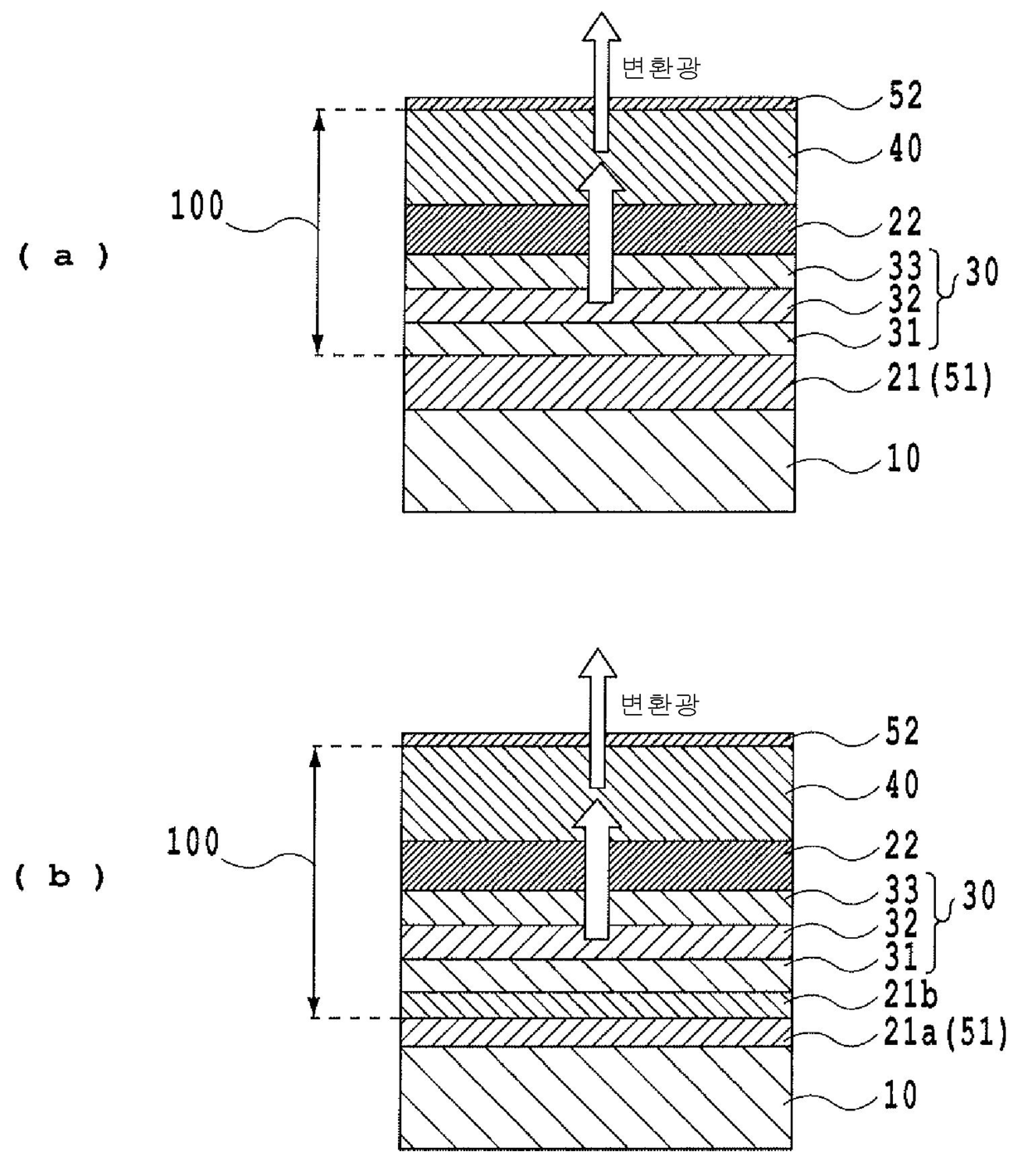
발명의 명칭 미소공진기 색변환 EL소자 및 이것을 이용한 유기 EL디스플레이
授权日:
2014-03-27
公开(公告)号:
KR101380869B1
申请日:
2009-02-04
公开(公告)日:
2014-04-02
当前申请(专利权)人:
샤프 가부시키가이샤
发明人:
TERAO, YUTAKA
简单同族:
CN101521263A | DE102009010646A1 | JP2009205928A | KR101380869B1 | KR1020090092698A | TW200950579A | US20090212696A1 | US7863808
简单同族成员数量:
8
简单同族被引用专利总数:
75
诉讼案件数:
0
法律状态/事件:
授权 | 权利转移