首页
专利数据库
产业人才
行业动态
产业政策法规
维权援助
个人中心
登录/注册
详情
文本
图像
标题:
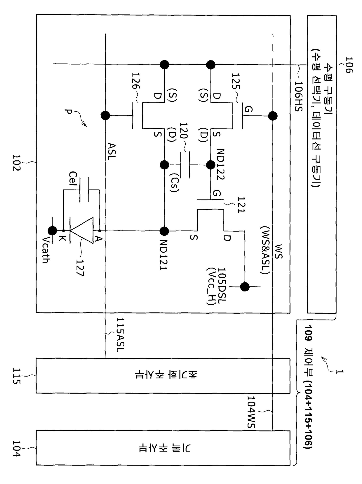
화소 회로, 표시장치, 및 화소 회로의 구동방법
授权日:
1900-01-01
公开(公告)号:
KR1020080061268A
申请日:
2007-12-03
公开(公告)日:
2008-07-02
当前申请(专利权)人:
소니 주식회사
发明人:
이이다유키히토 | 우치노카쓰히데
简单同族:
CN101211535A | CN101211535B | JP2008164796A | KR1020080061268A | TW200836152A | US20080158110A1 | US7898509
简单同族成员数量:
7
简单同族被引用专利总数:
111
诉讼案件数:
0
法律状态/事件:
撤回