首页
专利数据库
产业人才
行业动态
产业政策法规
维权援助
个人中心
登录/注册
详情
文本
图像
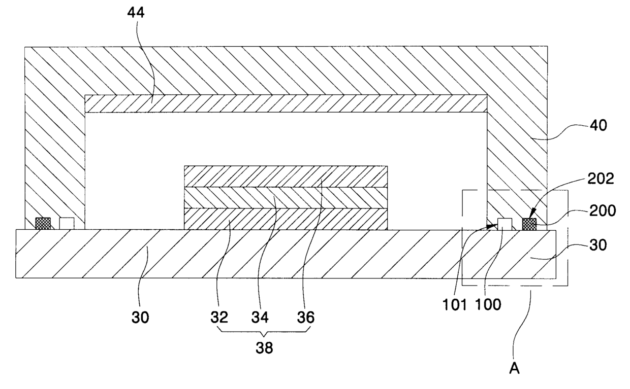
标题:
유기 전계 발광 표시 장치
授权日:
2006-10-10
公开(公告)号:
KR100635049B1
申请日:
2003-11-29
公开(公告)日:
2006-10-17
当前申请(专利权)人:
삼성에스디아이 주식회사
发明人:
KANG,TAEWOOK
简单同族:
CN100440575C | CN1622700A | JP2005166634A | KR100635049B1 | KR1020050052250A | US20050116636A1 | US7145290
简单同族成员数量:
7
简单同族被引用专利总数:
92
诉讼案件数:
0
法律状态/事件:
未缴年费 | 权利转移