首页
专利数据库
产业人才
行业动态
产业政策法规
维权援助
个人中心
登录/注册
详情
文本
图像
标题:
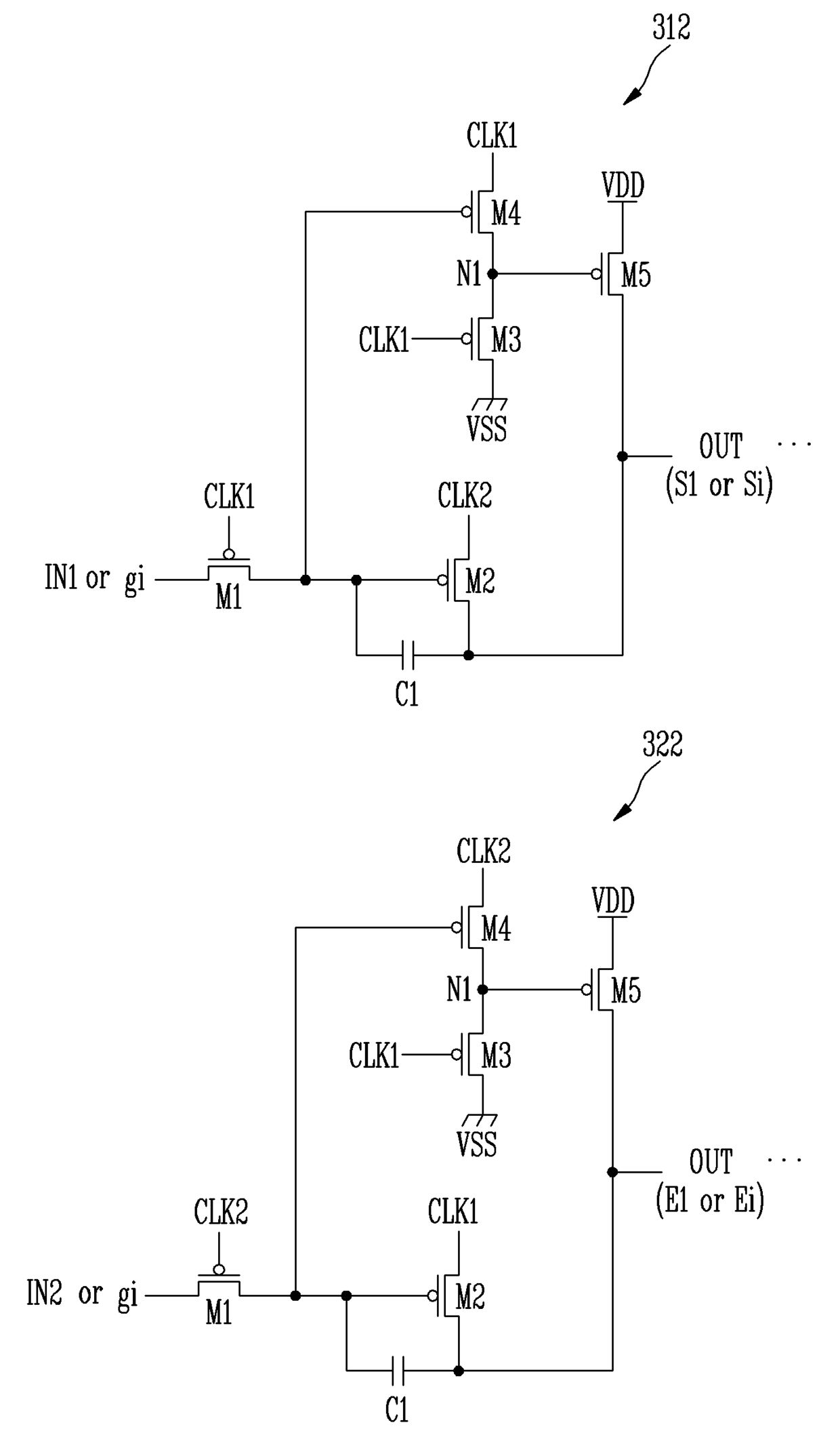
주사 구동회로와 이를 이용한 유기 전계발광 장치
授权日:
2007-06-08
公开(公告)号:
KR100729099B1
申请日:
2005-09-20
公开(公告)日:
2007-06-14
当前申请(专利权)人:
삼성에스디아이 주식회사
发明人:
DONGYONG SHIN
简单同族:
CN100541577C | CN1937020A | DE602006006514D1 | EP1764774A2 | EP1764774A3 | EP1764774B1 | JP2007086727A | JP4612580B2 | KR100729099B1 | KR1020070032870A | US20070079191A1 | US7782276
简单同族成员数量:
12
简单同族被引用专利总数:
80
诉讼案件数:
0
法律状态/事件:
未缴年费 | 权利转移