首页
专利数据库
产业人才
行业动态
产业政策法规
维权援助
个人中心
登录/注册
详情
文本
图像
标题:
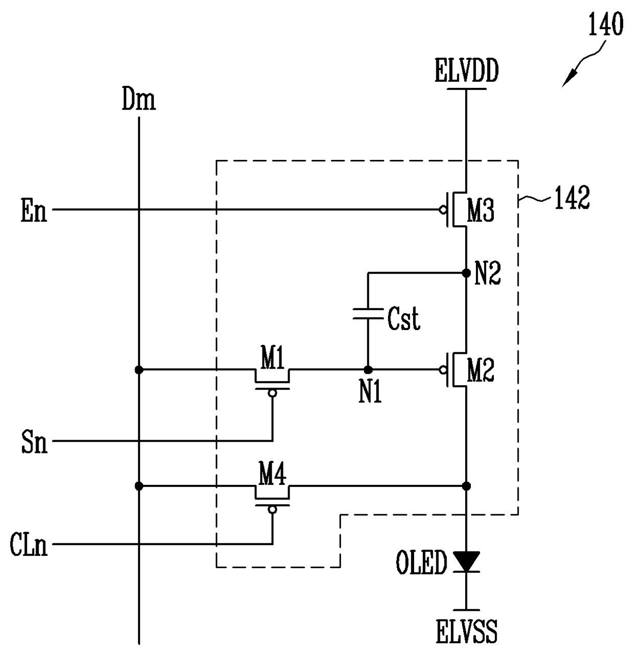
유기전계발광 표시장치
授权日:
1900-01-01
公开(公告)号:
KR1020110039773A
申请日:
2009-10-12
公开(公告)日:
2011-04-20
当前申请(专利权)人:
삼성모바일디스플레이주식회사
发明人:
김양완
简单同族:
KR101101070B1 | KR1020110039773A | US20110084955A1
简单同族成员数量:
3
简单同族被引用专利总数:
69
诉讼案件数:
0
法律状态/事件:
授权 | 权利转移