首页
专利数据库
产业人才
行业动态
产业政策法规
维权援助
个人中心
登录/注册
详情
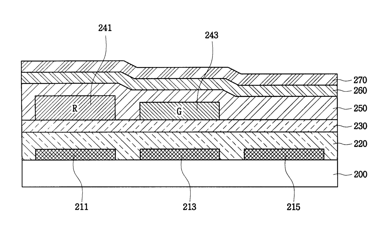
文本
图像
标题:
유기전계 발광표시장치의 제조방법
授权日:
2007-04-20
公开(公告)号:
KR100712096B1
申请日:
2004-02-19
公开(公告)日:
2007-04-27
当前申请(专利权)人:
삼성에스디아이 주식회사
发明人:
김무현 | 진병두 | 이성택
简单同族:
CN100502088C | CN1658717A | JP2005235741A | JP4684640B2 | KR100712096B1 | KR1020050082644A | US20050186330A1 | US7547462
简单同族成员数量:
8
简单同族被引用专利总数:
108
诉讼案件数:
0
法律状态/事件:
授权 | 权利转移