首页
专利数据库
产业人才
行业动态
产业政策法规
维权援助
个人中心
登录/注册
详情
文本
图像
标题:
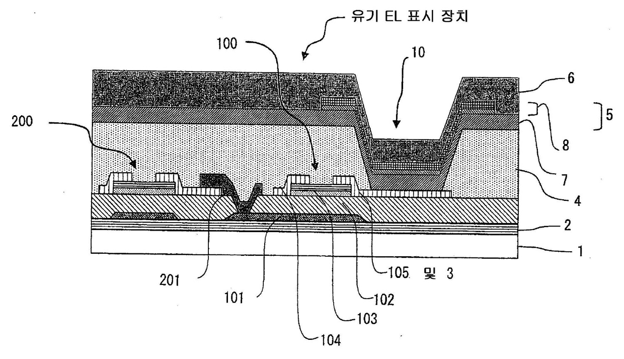
유기 전계발광 표시 장치 및 패터닝 방법
授权日:
1900-01-01
公开(公告)号:
KR1020090128535A
申请日:
2008-04-03
公开(公告)日:
2009-12-15
当前申请(专利权)人:
유디씨 아일랜드 리미티드
发明人:
마츠나가아츠시 | 나카야마마사야 | 다나카아츠시
简单同族:
CN101641794A | CN101641794B | EP2135288A1 | EP2135288A4 | JP2008276211A | KR1020090128535A | US20100073268A1 | WO2008126883A1
简单同族成员数量:
8
简单同族被引用专利总数:
112
诉讼案件数:
0
法律状态/事件:
驳回