首页
专利数据库
产业人才
行业动态
产业政策法规
维权援助
个人中心
登录/注册
详情
文本
图像
标题:
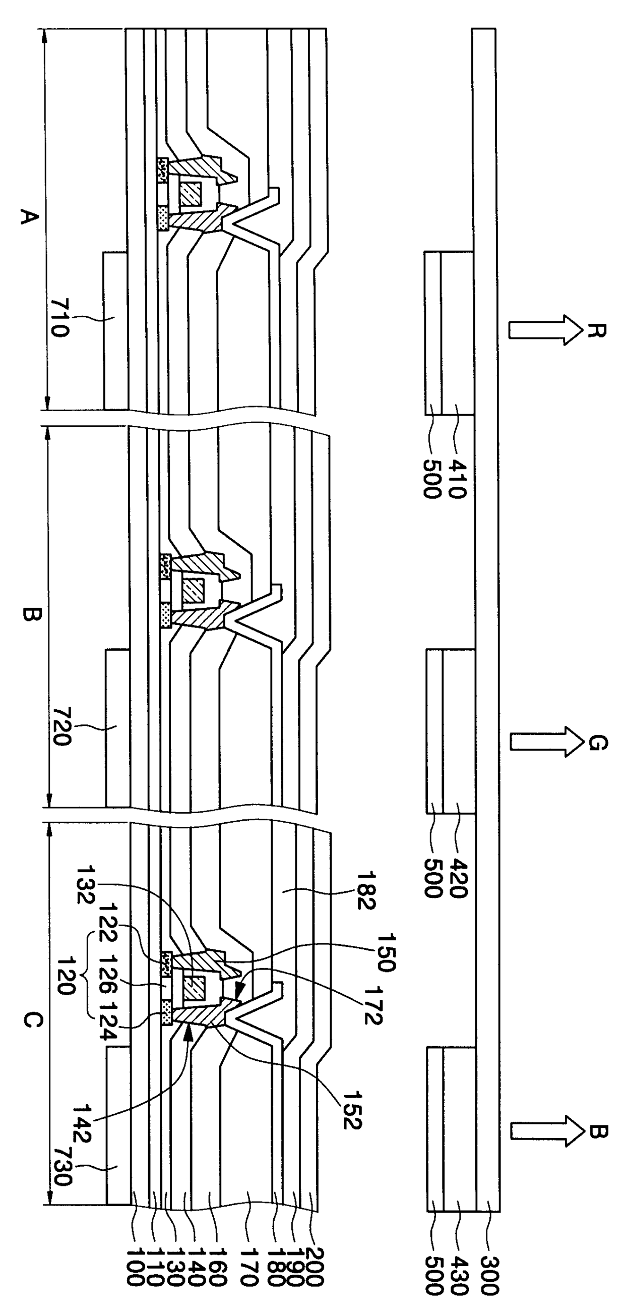
풀 칼라 유기 전계 발광 표시 소자 및 그 제조방법
授权日:
2006-10-11
公开(公告)号:
KR100635575B1
申请日:
2004-11-17
公开(公告)日:
2006-10-17
当前申请(专利权)人:
삼성에스디아이 주식회사
发明人:
박준영
简单同族:
CN1780018A | JP2006147561A | KR100635575B1 | KR1020060055054A | US20060102913A1 | US20090285977A1 | US7659661 | US8557325
简单同族成员数量:
8
简单同族被引用专利总数:
82
诉讼案件数:
0
法律状态/事件:
授权 | 权利转移