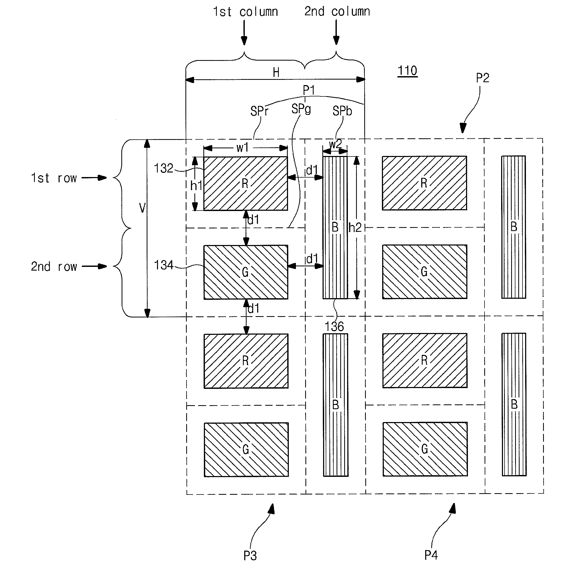
标题:
Organic electroluminescent display device
授权日:
1900-01-01
公开(公告)号:
US20140042418A1
申请日:
2013-10-22
公开(公告)日:
2014-02-13
当前申请(专利权)人:
LG DISPLAY CO., LTD.
发明人:
PARK, JONG-HYUN | YOO, JUHN-SUK | KIM, JONG-SUNG | LEE, KANG-JU
简单同族:
CN102403334A | CN102403334B | DE102011053276A1 | DE102011053276B4 | GB201115490D0 | GB2483764A | GB2483764A8 | GB2483764B | KR101257734B1 | KR1020120025885A | US20120056531A1 | US20140042418A1 | US8593057 | US8786182
简单同族成员数量:
14
简单同族被引用专利总数:
93
诉讼案件数:
0
法律状态/事件:
授权