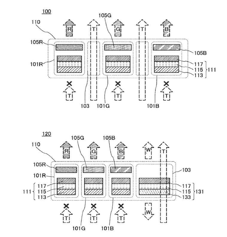
标题:
Display device and driving method thereof
授权日:
1900-01-01
公开(公告)号:
US20170271415A1
申请日:
2017-06-05
公开(公告)日:
2017-09-21
当前申请(专利权)人:
SEMICONDUCTOR ENERGY LABORATORY CO., LTD.
发明人:
YAMAZAKI, SHUNPEI
简单同族:
CN103094307A | CN103094307B | CN107452776A | JP2013117719A | JP2013117719A5 | JP2017228538A | JP6193552B2 | JP6496365B2 | KR1020130049727A | TW201332097A | TW201810648A | TWI624940B | TWI627745B | US20130113843A1 | US20170271415A1 | US9721998
简单同族成员数量:
16
简单同族被引用专利总数:
71
诉讼案件数:
0
法律状态/事件:
撤回