首页
专利数据库
产业人才
行业动态
产业政策法规
维权援助
个人中心
登录/注册
详情
文本
图像
标题:
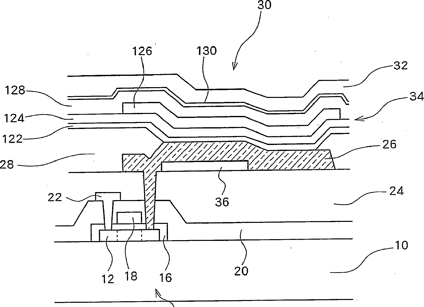
Organic el panel
授权日:
1900-01-01
公开(公告)号:
US20120112234A1
申请日:
2012-01-20
公开(公告)日:
2012-05-10
当前申请(专利权)人:
SANYO ELECTRIC CO., LTD.
发明人:
NISHIKAWA, RYUJI | OMURA, TETSUJI | NAKAI, MASAYA
简单同族:
CN100438068C | CN1832195A | JP2006236947A | JP4573672B2 | KR1020060095494A | TW200631466A | TWI336212B | US20060192220A1 | US20120112234A1 | US8129712
简单同族成员数量:
10
简单同族被引用专利总数:
74
诉讼案件数:
0
法律状态/事件:
撤回