首页
专利数据库
产业人才
行业动态
产业政策法规
维权援助
个人中心
登录/注册
详情
文本
图像
标题:
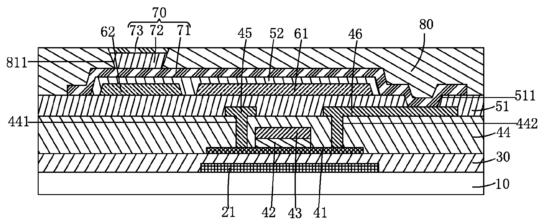
OLED display panel and manufacturing method thereof
授权日:
2018-11-06
公开(公告)号:
US10121830
申请日:
2017-08-16
公开(公告)日:
2018-11-06
当前申请(专利权)人:
WUHAN CHINA STAR OPTOELECTRONICS SEMICONDUCTOR DISPLAY TECHNOLOGY CO., LTD.
发明人:
LI, SONGSHAN
简单同族:
US10121830
简单同族成员数量:
1
简单同族被引用专利总数:
0
诉讼案件数:
0
法律状态/事件:
授权 | 权利转移