首页
专利数据库
产业人才
行业动态
产业政策法规
维权援助
个人中心
登录/注册
详情
文本
图像
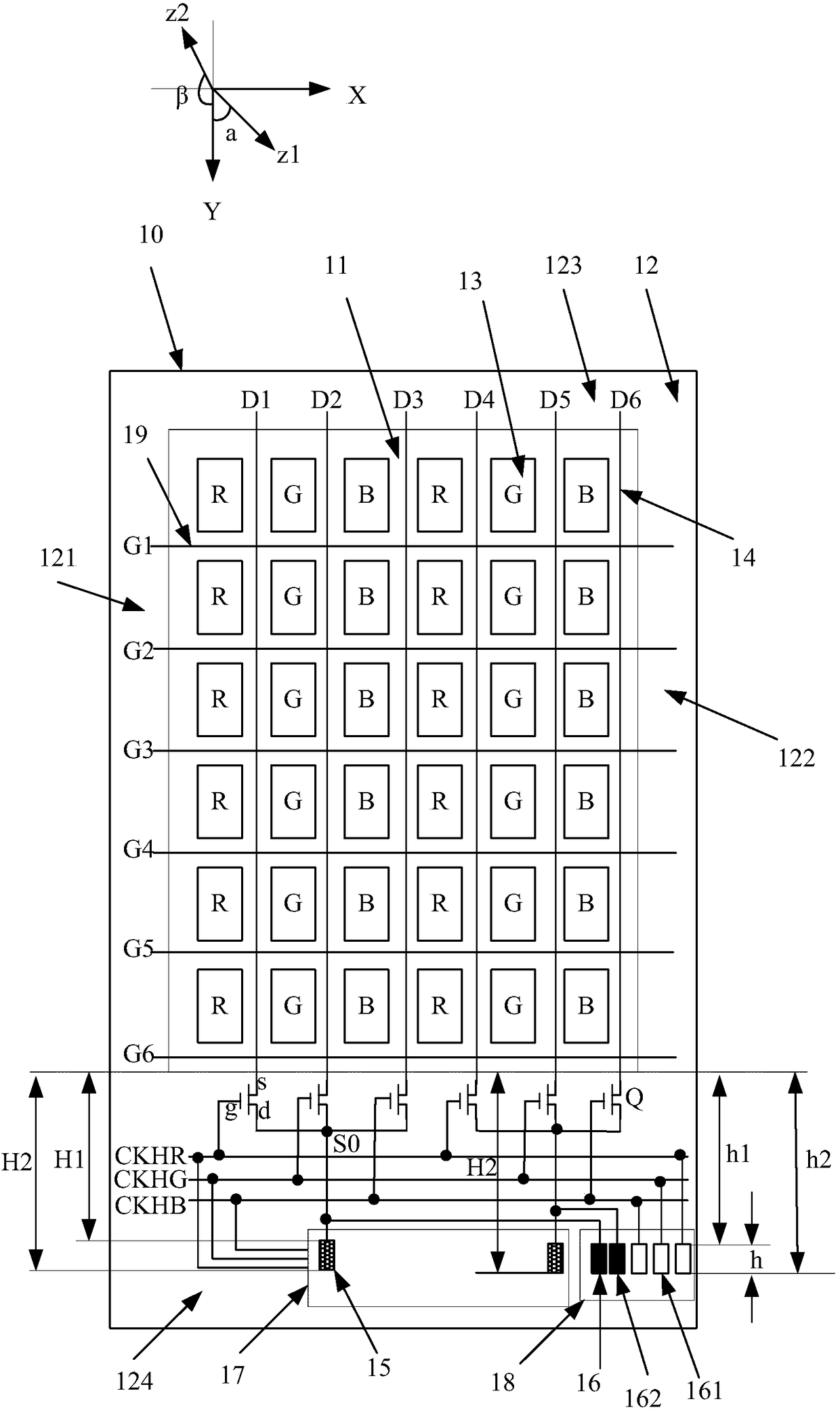
标题:
一种阵列基板、液晶显示面板以及电子设备
授权日:
2017-10-03
公开(公告)号:
CN206541109U
申请日:
2016-12-23
公开(公告)日:
2017-10-03
当前申请(专利权)人:
上海中航光电子有限公司 | 天马微电子股份有限公司
发明人:
邵琬童 | 敦栋梁
简单同族:
CN206541109U
简单同族成员数量:
1
简单同族被引用专利总数:
0
诉讼案件数:
0
法律状态/事件:
授权