标题:
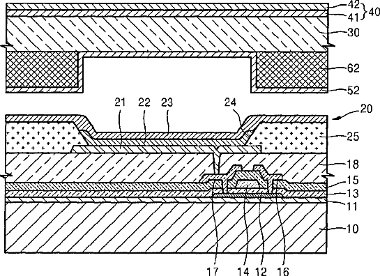
Organic light emitting display device
授权日:
2012-08-07
公开(公告)号:
US8237356
申请日:
2011-03-09
公开(公告)日:
2012-08-07
当前申请(专利权)人:
SAMSUNG DISPLAY CO., LTD.
发明人:
CHO, YOON-HYEUNG | LEE, JONG-HYUK | OH, MIN-HO | LEE, BYOUNG-DUK | LEE, SO-YOUNG | LEE, SUN-YOUNG | KIM, WON-JONG | KIM, YONG-TAK | CHOI, JIN-BAEK
简单同族:
CN101257747A | CN101257747B | EP1965429A2 | EP1965429A3 | EP1965429B1 | JP2008218377A | JP4588740B2 | KR100829753B1 | US20080218064A1 | US20110156015A1 | US7923923 | US8237356
简单同族成员数量:
12
简单同族被引用专利总数:
60
诉讼案件数:
0
法律状态/事件:
授权 | 权利转移