标题:
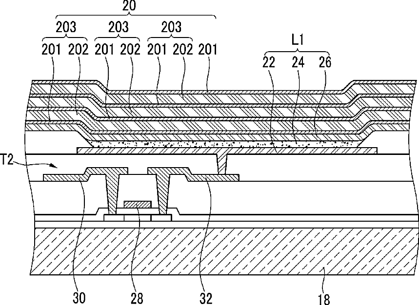
Organic light emitting diode display
授权日:
1900-01-01
公开(公告)号:
US20130037792A1
申请日:
2012-10-05
公开(公告)日:
2013-02-14
当前申请(专利权)人:
SAMSUNG DISPLAY CO., LTD.
发明人:
KIM, SO-YEON | HAN, SUNG-WOOK | HAN, DONG-WON | KWACK, JIN-HO | KIM, HYO-JIN
简单同族:
CN102157543A | CN102157543B | DE102010064378A1 | JP2011138748A | JP2014179335A | JP6072724B2 | KR101155904B1 | KR1020110080050A | TW201208172A | TWI455386B | US20110163330A1 | US20130037792A1 | US8735936
简单同族成员数量:
13
简单同族被引用专利总数:
93
诉讼案件数:
0
法律状态/事件:
授权 | 权利转移