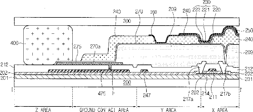
标题:
Organic light emitting display device and method for manufacturing the same
授权日:
1900-01-01
公开(公告)号:
US20150270513A1
申请日:
2015-06-05
公开(公告)日:
2015-09-24
当前申请(专利权)人:
LG DISPLAY CO., LTD.
发明人:
CHOI, HEE DONG | JEON, SEUNG JOON
简单同族:
CN102969456A | CN102969456B | KR101463650B1 | KR1020130024090A | US20130049003A1 | US20150270513A1 | US9076745 | US9362533
简单同族成员数量:
8
简单同族被引用专利总数:
65
诉讼案件数:
0
法律状态/事件:
授权