首页
专利数据库
产业人才
行业动态
产业政策法规
维权援助
个人中心
登录/注册
详情
文本
图像
标题:
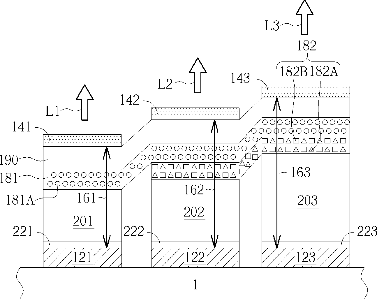
Pixel structure of electroluminescent display panel
授权日:
1900-01-01
公开(公告)号:
US20130140533A1
申请日:
2012-11-05
公开(公告)日:
2013-06-06
当前申请(专利权)人:
AU OPTRONICS CORP.
发明人:
LEE, MENG-TING | CHU, MIAO-TSAI
简单同族:
CN103050630A | TW201324891A | US20130140533A1 | US8946735
简单同族成员数量:
4
简单同族被引用专利总数:
67
诉讼案件数:
0
法律状态/事件:
授权 | 权利转移