标题:
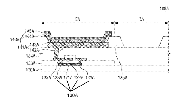
Transparent organic light emitting display device and method for manufacturing the same
授权日:
2016-05-24
公开(公告)号:
US9349780
申请日:
2013-12-03
公开(公告)日:
2016-05-24
当前申请(专利权)人:
LG DISPLAY CO., LTD.
发明人:
KIM, YONGCHUL | IM, JONGHYEOK
简单同族:
CN104885250A | CN104885250B | EP2939290A1 | EP2939290A4 | EP2939290B1 | KR102010789B1 | KR1020140085243A | US20140183472A1 | US9349780 | WO2014104707A1
简单同族成员数量:
10
简单同族被引用专利总数:
65
诉讼案件数:
0
法律状态/事件:
授权 | 权利转移