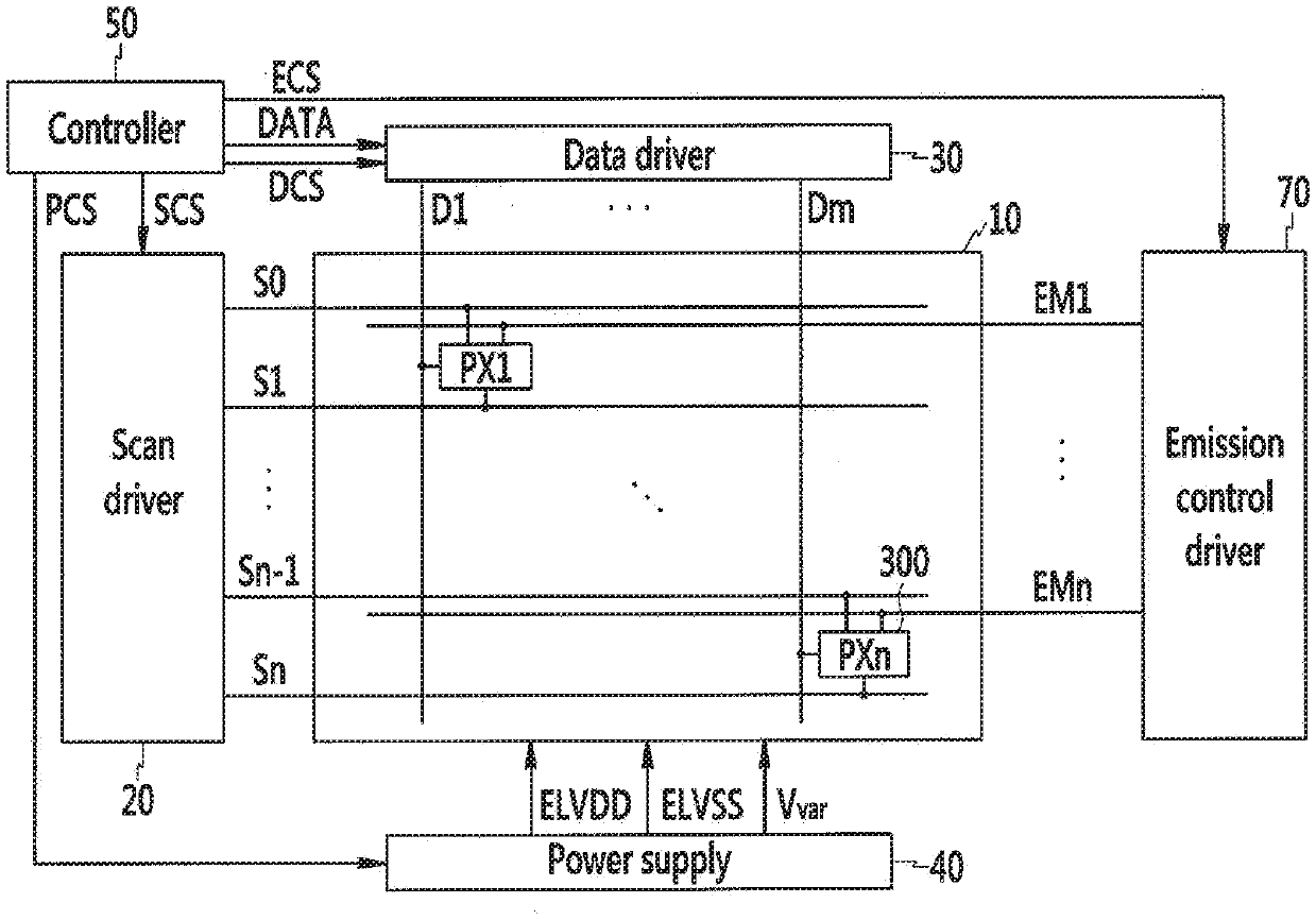
标题:
Pixel and organic light emitting diode display using the same
授权日:
1900-01-01
公开(公告)号:
US20200175926A1
申请日:
2020-02-07
公开(公告)日:
2020-06-04
当前申请(专利权)人:
SAMSUNG DISPLAY CO., LTD.
发明人:
JEONG, JIN-TAE | KWAK, WON-KYU
简单同族:
CN103247256A | CN103247256B | EP2626851A2 | EP2626851A3 | EP2626851B1 | JP2013161084A | KR101869056B1 | KR1020130091136A | TW201333917A | TWI590216B | US10600365 | US20130201172A1 | US20160240142A1 | US20170330515A1 | US20200175926A1 | US9324264 | US9728134
简单同族成员数量:
17
简单同族被引用专利总数:
74
诉讼案件数:
0
法律状态/事件:
公开