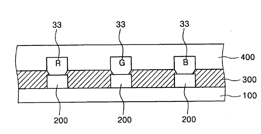
标题:
Donor film for laser induced thermal imaging method and organic electroluminescence display device fabricated using the film
授权日:
1900-01-01
公开(公告)号:
US20050136344A1
申请日:
2004-10-21
公开(公告)日:
2005-06-23
当前申请(专利权)人:
SAMSUNG MOBILE DISPLAY CO., LTD.
发明人:
KANG, TAE-MIN | SONG, MYUNG-WON | LEE, JAE-HO | LEE, SEONG-TAEK
简单同族:
AT389953T | CN1638543A | DE602004012522D1 | DE602004012522T2 | EP1548857A1 | EP1548857B1 | JP2005183381A | KR100579174B1 | KR1020050063534A | US20050136344A1
简单同族成员数量:
10
简单同族被引用专利总数:
93
诉讼案件数:
0
法律状态/事件:
撤回 | 权利转移