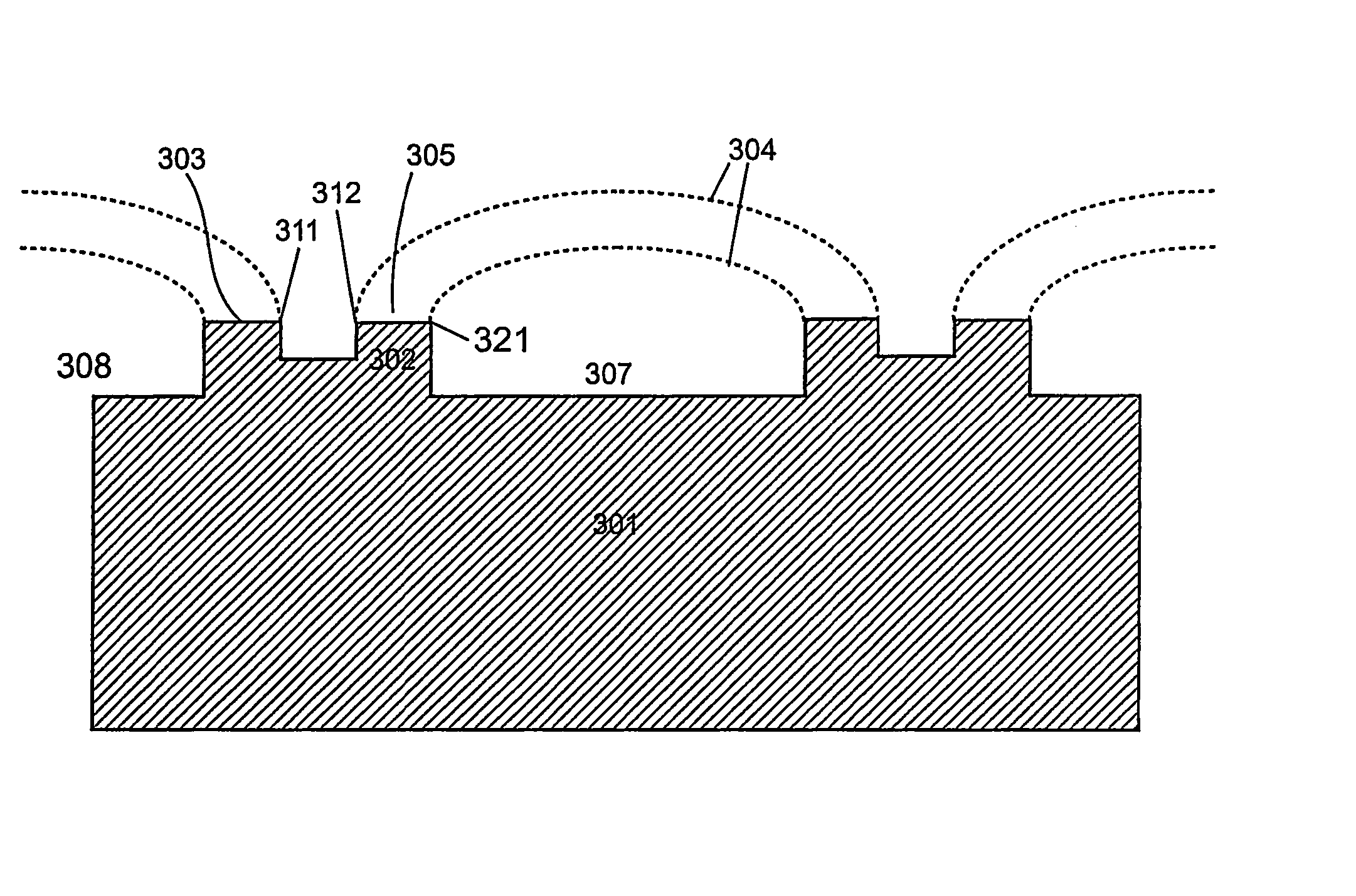
标题:
Structured polmer substrate for ink-jet printing of an oled matrix
授权日:
1900-01-01
公开(公告)号:
US20050190253A1
申请日:
2003-01-29
公开(公告)日:
2005-09-01
当前申请(专利权)人:
KONINKLIJKE PHILIPS ELECTRONICS, N.V.
发明人:
DUINEVELD, PAULUS CORNELIS | DIJKSMAN, JOHAN FREDERIK
简单同族:
CN1625814A | EP1474835A1 | JP2005516372A | JP2005516372A5 | JP4372555B2 | KR1020040081164A | TW200308110A | TWI296862B | US20050190253A1 | WO2003065474A1
简单同族成员数量:
10
简单同族被引用专利总数:
81
诉讼案件数:
0
法律状态/事件:
撤回 | 权利转移