首页
专利数据库
产业人才
行业动态
产业政策法规
维权援助
个人中心
登录/注册
详情
文本
图像
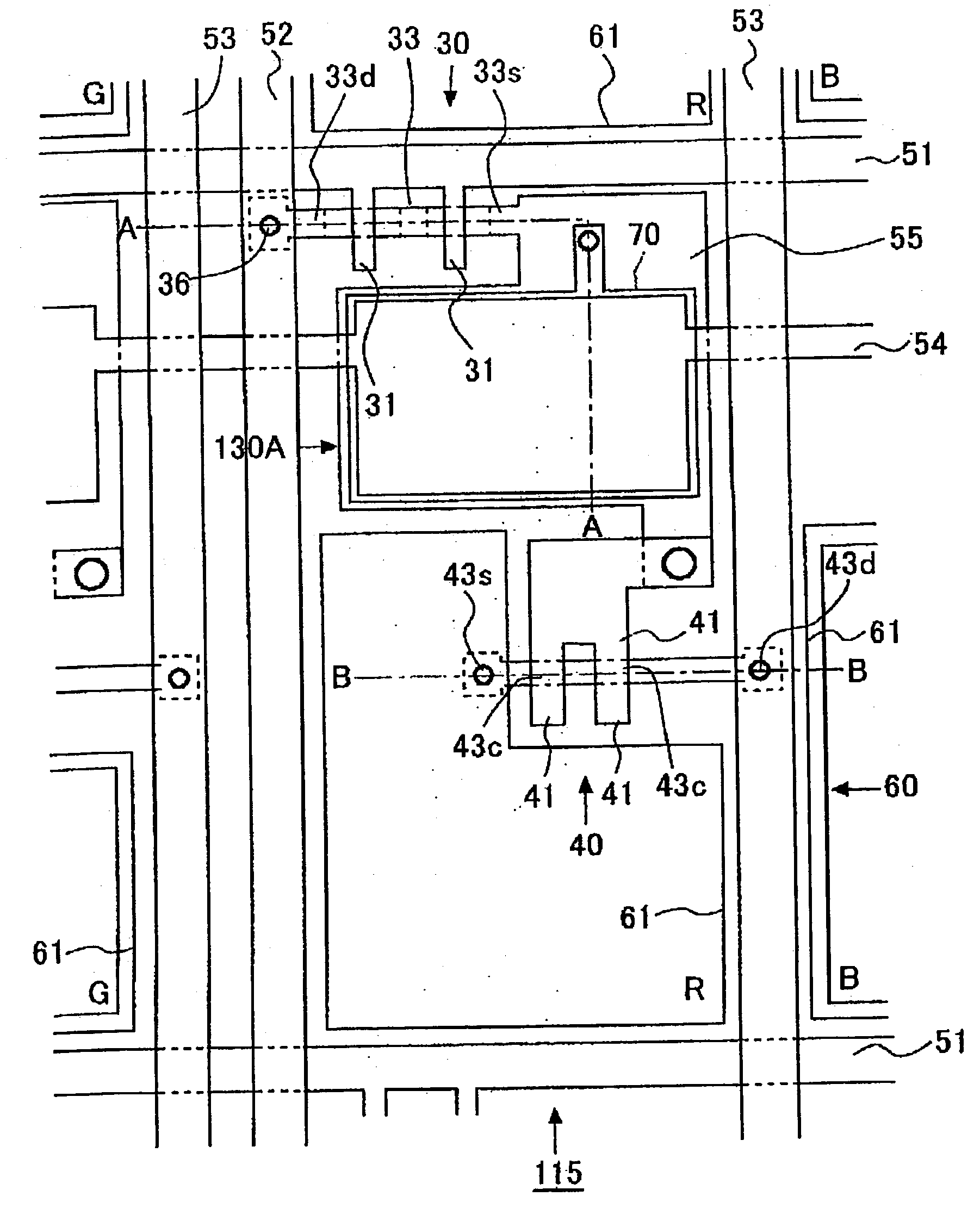
标题:
Display device
授权日:
1900-01-01
公开(公告)号:
US20040012548A1
申请日:
2003-04-30
公开(公告)日:
2004-01-22
当前申请(专利权)人:
SANYO ELECTRIC CO., LTD.
发明人:
ANZAI, KATSUYA
简单同族:
CN1276404C | CN1455381A | JP2003323133A | JP2003323133A5 | JP4027149B2 | KR100527029B1 | KR1020030085508A | TW200306754A | TWI248775B | US20040012548A1 | US7330168
简单同族成员数量:
11
简单同族被引用专利总数:
81
诉讼案件数:
0
法律状态/事件:
授权 | 权利转移