首页
专利数据库
产业人才
行业动态
产业政策法规
维权援助
个人中心
登录/注册
详情
文本
图像
标题:
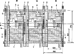
Color electroluminescence display device
授权日:
2004-02-10
公开(公告)号:
US6690118
申请日:
2002-04-25
公开(公告)日:
2004-02-10
当前申请(专利权)人:
SANYO ELECTRIC CO., LTD.
发明人:
YOKOYAMA, RYOICHI
简单同族:
EP1006588A2 | EP1006588A3 | JP2000227770A | KR1020000047779A | TW435054B | US20020125832A1 | US20040130514A1 | US6429599 | US6690118 | US7339559
简单同族成员数量:
10
简单同族被引用专利总数:
110
诉讼案件数:
0
法律状态/事件:
期限届满 | 权利转移